Published:2009/6/26 3:05:00 Author:May | From:SeekIC

Reprinted Url Of This Article:
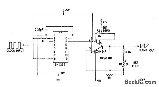
http://www.seekic.com/circuit_diagram/Signal_Processing/PRECISION_RAMP_GENERATOR.html
Print this Page | Comments | Reading(3)
Code: