Published:2009/7/6 21:42:00 Author:May | From:SeekIC

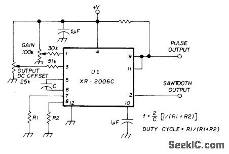
Pulse output is obtained from Exar XR-2006C functiongenerator l0 when pin 9 is shorted to squarewave output at pin 11. Pulse duty cycle, along with rise and fall times of ramp from pin 2, is determined by values of R1 and R2. Both can be adiusted from 1 to 99% by proper selection of resistor values as given in formulas alongside diagram.-E. NoLL VHF/UHF Single-Frequency Conversion, Ham Radio, April 1975, p 62-67.
Reprinted Url Of This Article:
http://www.seekic.com/circuit_diagram/Signal_Processing/PULSE_SAWTOOTH_GENERATOR.html
Print this Page | Comments | Reading(3)
Code: