Published:2011/6/6 8:05:00 Author:Felicity | Keyword: Pulse Test Set (the 1st) | From:SeekIC

Work of the circuit
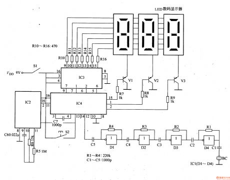
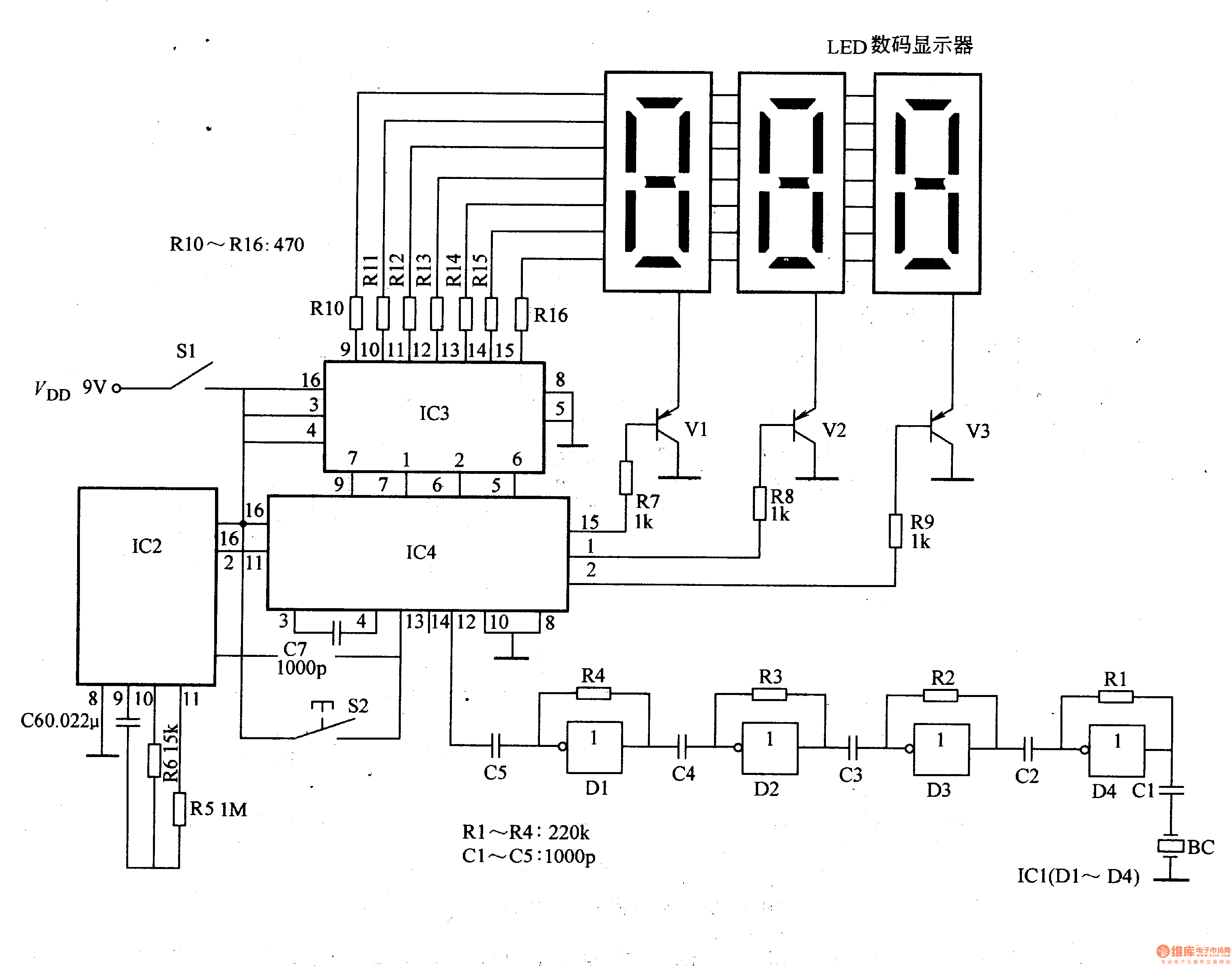
The circuit consists of signal amplifying circuit, OSC and counting indicating circuit. (It is showed in picture 9-48.)
When you use the pulse test set you should use a watch belt to press the sensor on the tester’s wrest (do press it tightly). Turn on the switch S the OSC starts working. The sensor BC turns the pulse jumping signal into electronic signal. The signal then will be amplified. It produces BCD code. BCD code is decoded and drives LED digital display to work. When the OSC works for 1min, the number displayed on the LED digital display is the jumping number of times of pulse.
Reprinted Url Of This Article:
http://www.seekic.com/circuit_diagram/Signal_Processing/Pulse_Test_Set_the_1st.html
Print this Page | Comments | Reading(3)
Code: