Published:2009/7/15 2:44:00 Author:Jessie | From:SeekIC

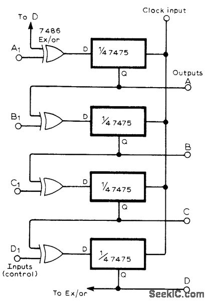
Uses gated shift register assembled from 7475 D-type latch, along with four EXCLUSIVE-OR gates. Clock pulse should be narrow to avoid race-around effects.-P. D, Maddison, Sequence Generator, Wireless World, Dec. 1977, p 80.
Reprinted Url Of This Article:
http://www.seekic.com/circuit_diagram/Signal_Processing/SEQUENCE_GENERATOR.html
Print this Page | Comments | Reading(3)
Code: