Published:2009/7/6 22:11:00 Author:May | From:SeekIC

Circuit Notes
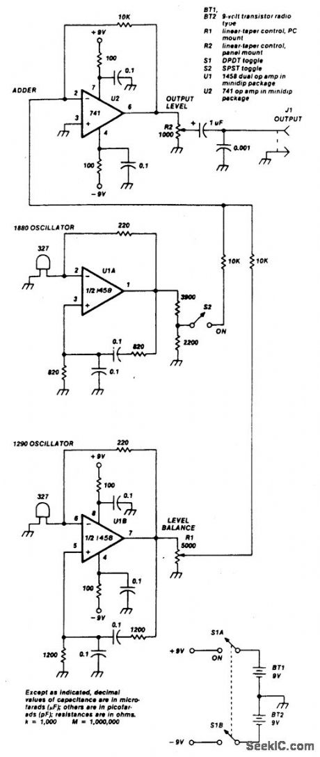
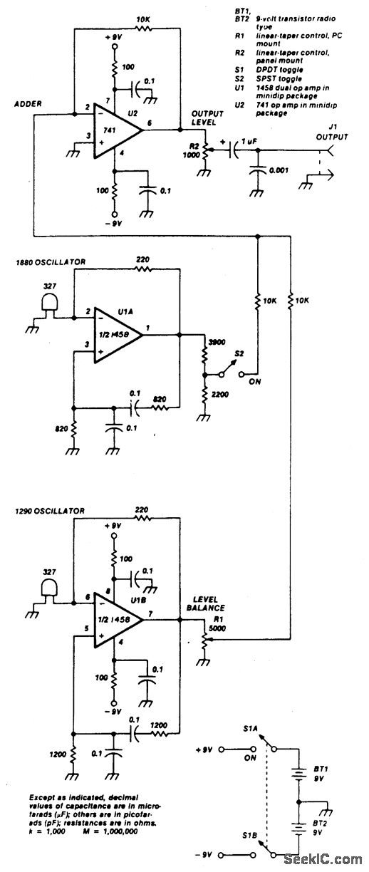
Two 741 operational amplifiers are used for the active element in this Wien bridge oscillator.(The 1458 is the dual version of the 741.) Frequencies of the two oscillators were chosen to fit standard component values. Other frequencies between 500 and 2000 Hz can be employed. They should not be harmonically related. The output level of U1A is set by a resistive divider, while the output of U1B is adjustable through R1. The output of the two oscillators is combined in U2, an op-amp adder with unity gain. The output from U2 can be adjusted using R2.
Reprinted Url Of This Article:
http://www.seekic.com/circuit_diagram/Signal_Processing/SIMPLE_TWO_TONE_GENERATOR.html
Print this Page | Comments | Reading(3)
Code: