Published:2009/6/24 22:24:00 Author:May | From:SeekIC

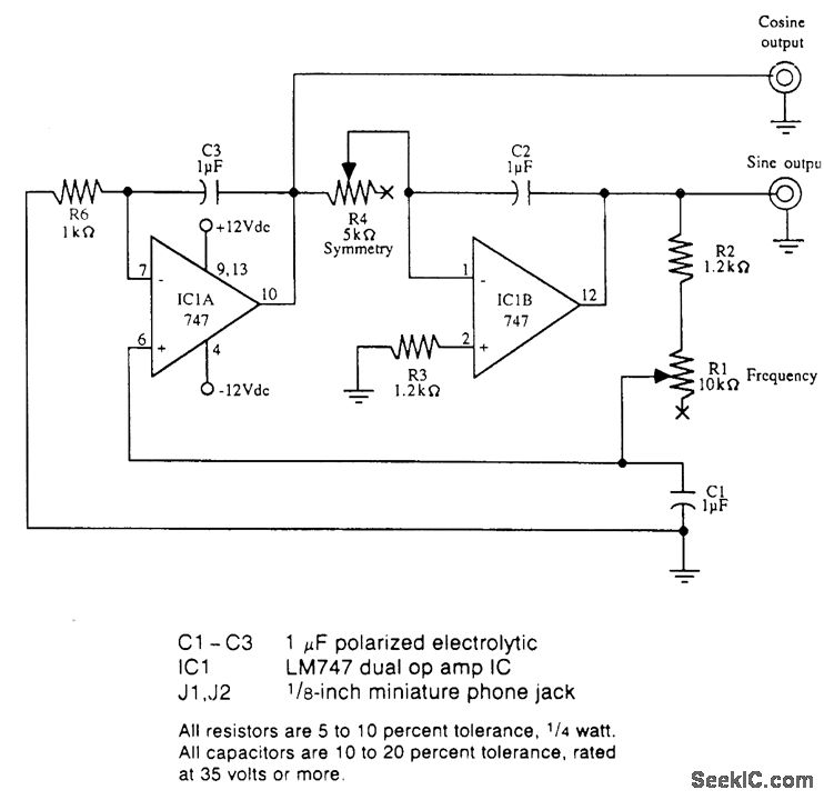
This circuit shows how to implement a sine/cosine audio generator for operating two galvanometers.
Reprinted Url Of This Article:
http://www.seekic.com/circuit_diagram/Signal_Processing/SINE_COSINE_AUDIO_GENERATOR_FOR_GALVANOMETER_EXPERIMENTS_.html
Print this Page | Comments | Reading(3)
Code: