Published:2009/7/24 3:05:00 Author:Jessie | From:SeekIC

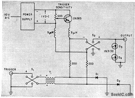
Tunnel-diode step generator provides single 400-my steps that are fast and free from overshoot, for testing wideband systems. Flat top of step, used for tests, is 2 microsec long. Step can be triggered with 0.5-V signal at repetition rates to 100 kc, or can free-run at about 100 kc.-R.Carlson, Tunnel-Diode Fast-Stop Generator Produces Positive or Negative Steps, Electronics, 34:30, p 48-49.
Reprinted Url Of This Article:
http://www.seekic.com/circuit_diagram/Signal_Processing/SINGLE_STEPS_AT_100_KC.html
Print this Page | Comments | Reading(3)
Code: