Published:2009/7/9 23:18:00 Author:May | From:SeekIC



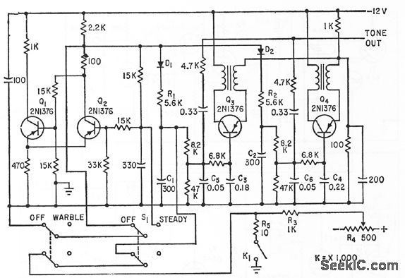
Genemtes singletone and wcrble signals. Blocking oscillators Q3 and Q4, having slightly different frequendes, are frequency-modulated by triangular-wave output of low-frequency mvbr Q1-Q2, to produce siren-type wail.-W. F. Ferguson, High-Powered Audio Alarm Systems, Eleeronics, 33:16, p 70-72.
Reprinted Url Of This Article:
http://www.seekic.com/circuit_diagram/Signal_Processing/SIREN_WARBLE_GENERAIOR.html
Print this Page | Comments | Reading(3)
Code: