Published:2009/6/16 1:59:00 Author:May | From:SeekIC




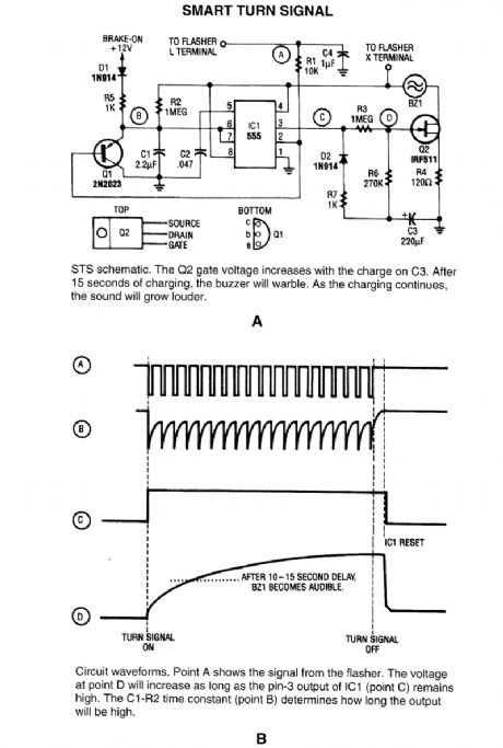
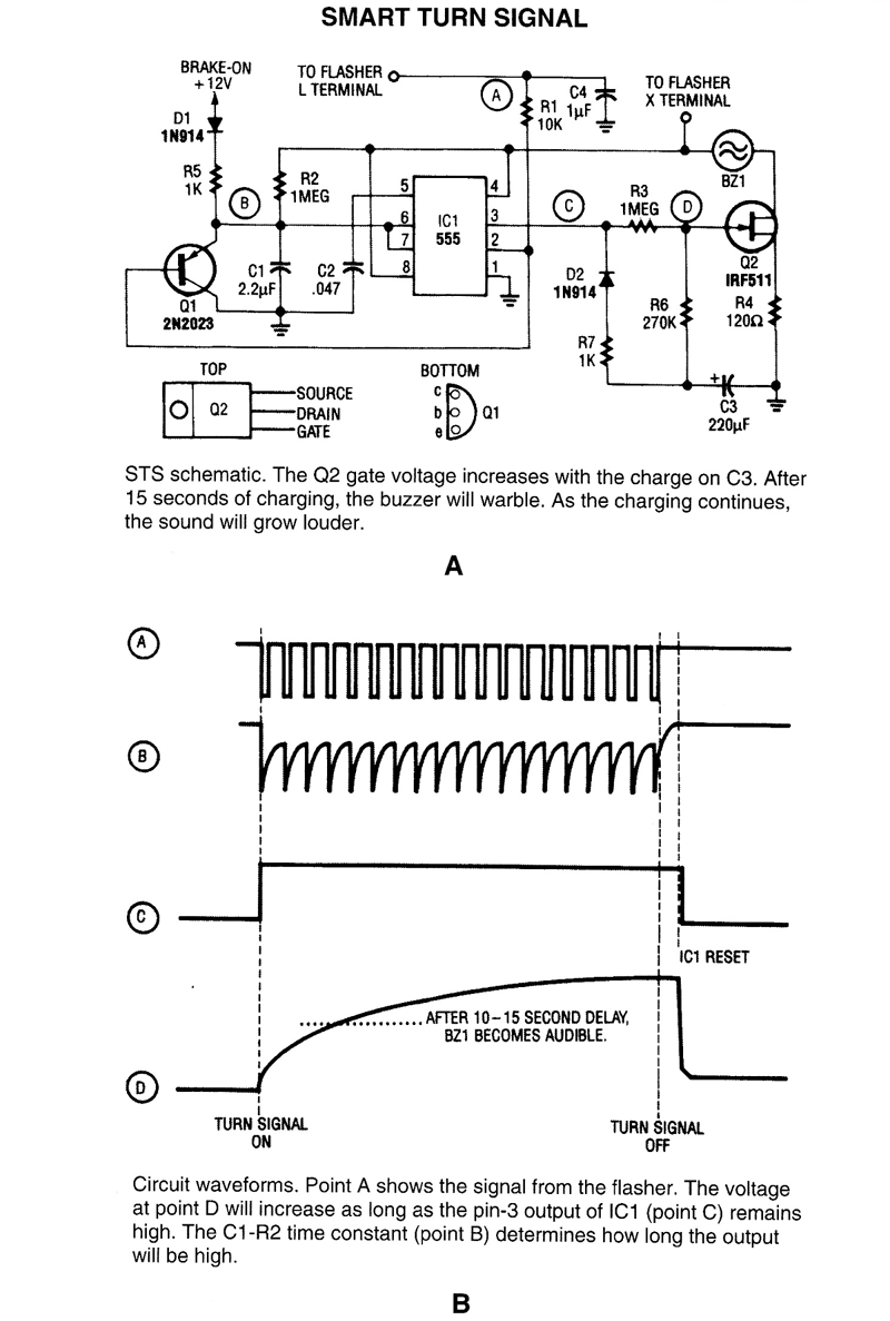
This circuit reminds a driver that his tun signal has been left on for more than 15 seconds. When stopped for a light, the brake-on signal holds the warning off.
Reprinted Url Of This Article:
http://www.seekic.com/circuit_diagram/Signal_Processing/SMART_TURN_SIGNAL.html
Print this Page | Comments | Reading(3)
Code: