Published:2009/7/16 5:22:00 Author:Jessie | From:SeekIC

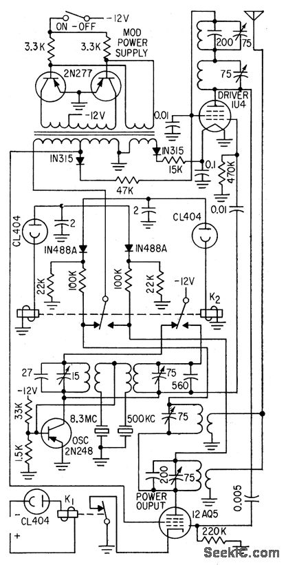
Transistors and tubes are combined for maximum power efficiency at 5-w output. Operates on 500-kc and 8.326.Mc distress frequencies. Code-wheel-operated photoelectric flip-flop automatically switches bands and keys transmitter in SOS code.-H. B. Weisbecker, Distress Transmitter is Hybrid, Electronics, 31:31, p 98-100.
Reprinted Url Of This Article:
http://www.seekic.com/circuit_diagram/Signal_Processing/SOS_ON_TWO_FREQUENCIES.html
Print this Page | Comments | Reading(3)
Code: