Published:2009/7/24 2:05:00 Author:Jessie | From:SeekIC

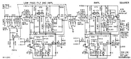
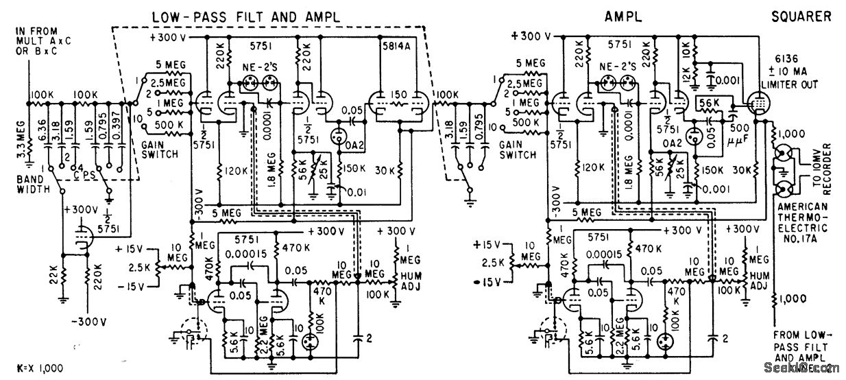
Designed to study dynamic data recorded as frequency-modulated signals on magnetic tape. Filter circuit values give 1, 2, and 4-cps bandwidth in analyzer. Thermocouple in squarer has time constant of 1 sec so output is filtered as well as squared. Outputs of thermocouples are in series to provide summing. D-c amplifiers prevent loading of filters,-T. B. Fryer, Frequency Analyzer Uses Two Reference signals, Electronics, 32:18, p 56-57.
Reprinted Url Of This Article:
http://www.seekic.com/circuit_diagram/Signal_Processing/SPECTRUM_ANALYZER_FILTER.html
Print this Page | Comments | Reading(3)
Code: