Published:2009/7/23 22:33:00 Author:Jessie | From:SeekIC

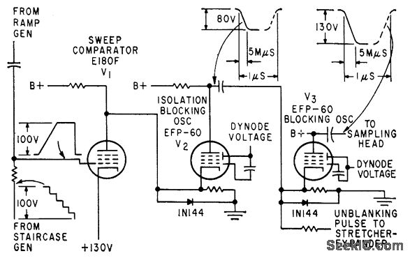
Sweep comparator V1 mixes output of ramp generator and staircase generator to give sampling or strobe pulse. Instantaneous d-c level of ramp, cor responding to a step, fixes time at which strobe signal is generated.-W. E. Bushor, Sample Method Displays Millimicrosecond Pulses, Electronics, 32:31, p 69-71.
Reprinted Url Of This Article:
http://www.seekic.com/circuit_diagram/Signal_Processing/STROBE_GENERATOR.html
Print this Page | Comments | Reading(3)
Code: