Published:2009/7/20 22:43:00 Author:Jessie | From:SeekIC

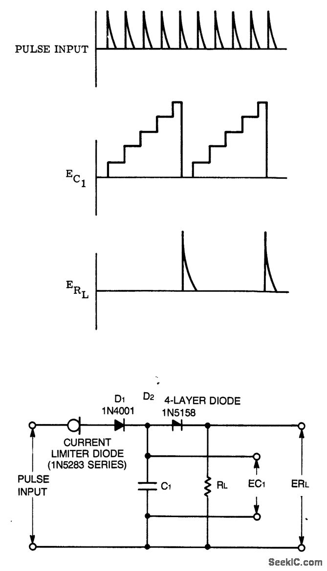
Staircase generator. The number of steps is determined as follows: n=(C1 VBR)/(Iptp), where n is the number of steps, VBR is the breakdown voltage at the PNPN diode, IP is the pinchoff voltage of the 1N5283 and tp is the pulse width (courtesy Motorola Semiconductor Products Inc.).
Reprinted Url Of This Article:
http://www.seekic.com/circuit_diagram/Signal_Processing/Staircase_generator_2.html
Print this Page | Comments | Reading(3)
Code: