Published:2009/7/23 22:07:00 Author:Jessie | From:SeekIC

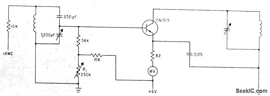
Measures power gain, with emitter current varied manually by R1 in base circuit. Used to determine conditions for uniform emitter current, required for uniform gain in transistor circuits despite variations in d-c beta values of transistors.-K. Redmond, Biasing Transistors for Uniform Gain, Electronics, 33:50, p 74-75.
Reprinted Url Of This Article:
http://www.seekic.com/circuit_diagram/Signal_Processing/TRANSISTOR_TEST_CIRCUIT.html
Print this Page | Comments | Reading(3)
Code: