Published:2009/7/15 2:55:00 Author:Jessie | From:SeekIC

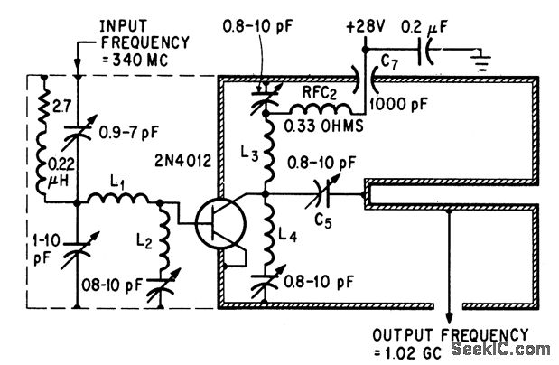
Single overlay transistor eliminates conventional transistor amplifier and chain of varactor frequency multipliers. Output power is 3.5 w.-H. C. Lee and G. J. Gilbert, Overlay Transistors Move into Microwave Region, Electronics, 39:6, p 93-95.
Reprinted Url Of This Article:
http://www.seekic.com/circuit_diagram/Signal_Processing/TRIPLER_WITH_OVERLAY_TRANSISTOR_GIVES_102_GC.html
Print this Page | Comments | Reading(3)
Code: