Published:2009/6/24 4:25:00 Author:Jessie | From:SeekIC

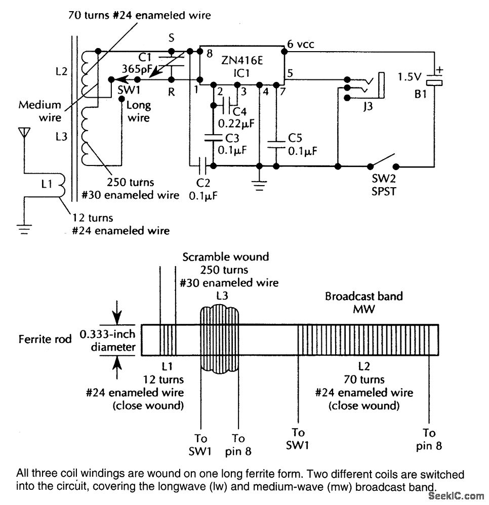
This TRF receiver covers the AM broadcast band and longwave bands (used in Europe and Asia for broadcasting). A loop antenna is used for reception and an extemal antenna can be connected.Frequency coverage is 150 to 1600 kHz.
Reprinted Url Of This Article:
http://www.seekic.com/circuit_diagram/Signal_Processing/TWO_BAND_RADIO.html
Print this Page | Comments | Reading(3)
Code: