Published:2009/7/21 22:19:00 Author:Jessie | From:SeekIC

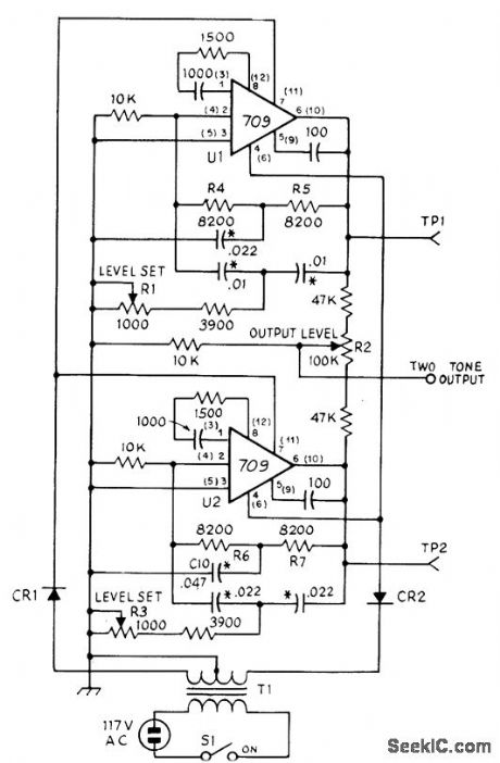
Uses 709 or 741 opamps to generate 1850-Hz and 855-Hz tones simulta-neously, pulsed at 60-Hz line rate for duty cycle slightly below 50%. Used to measure linearity of high-frequency amplifiers in low-power stages of SSB transmitter. Each opamp is pow-ered by half-wave rectified AC, with opposite voltage polarities provided by 12.6-V CT 50-mA filament transformer, Tone frequency of each opamp is determined by symmetrical twin-T network. R1 sets level of 1850-Hz tone, and R3 controls 855-Hz tone. R2 mixes and balances tones. Diodes are 50-PIV 500-mA silicon.-B. Buus, A Technique for Burst Two-Tone Testing of Linear Amplifiers, QST, Aug. 1971, p17-21.
Reprinted Url Of This Article:
http://www.seekic.com/circuit_diagram/Signal_Processing/TWO_TONE_BURSTS.html
Print this Page | Comments | Reading(3)
Code: