Published:2011/7/21 20:30:00 Author:qqtang | Keyword: FET, therapeutic apparatus | From:SeekIC

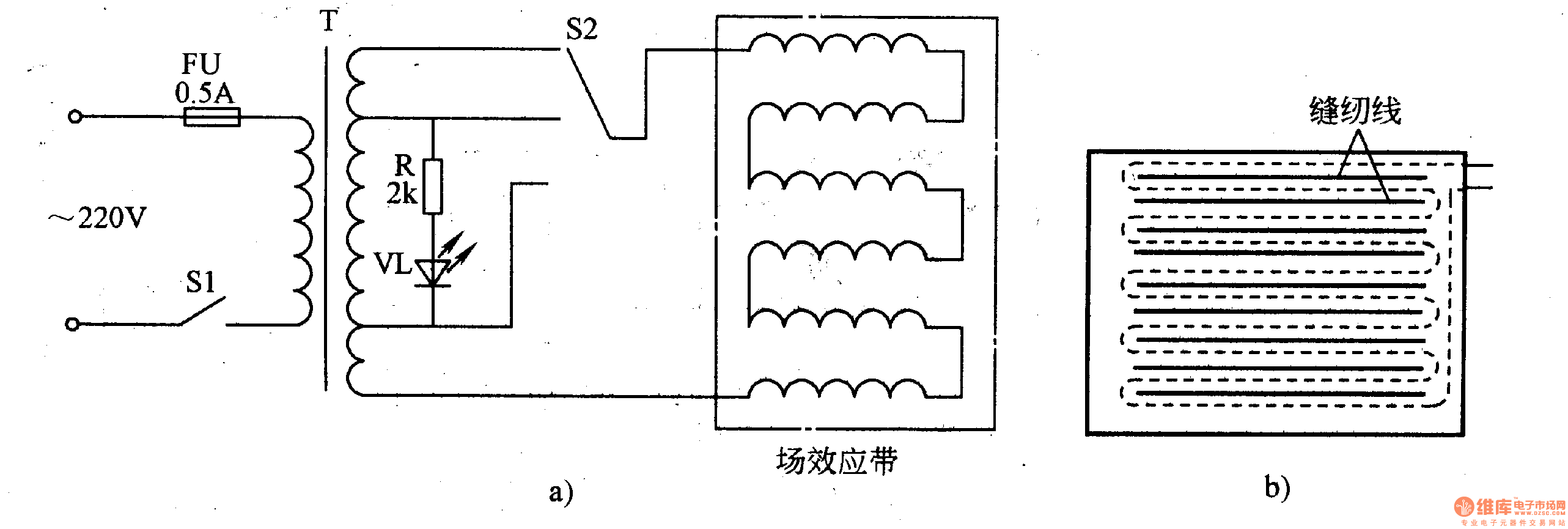
The working principle of the circuitThe FET therapeutic apparatus is simple, which consists of the fuse FU, power supply transformer T, power supply switch S1, voltage regulation switch S2, current limit resistor R, power supply indicator LED VL and FET band, see as figure 9-26.
When the power is on, its indicator VL is glowing. At the same time, there generates a inducting voltage on the secondary coil of the transformer T. The core voltage is added on the FET band, which generates the alternating field, eddy field and infrared rays.
Reprinted Url Of This Article:
http://www.seekic.com/circuit_diagram/Signal_Processing/The_FET_therapeutic_apparatus.html
Print this Page | Comments | Reading(3)
Code: