Published:2011/7/21 21:58:00 Author:qqtang | Keyword: heating magnetic mixer | From:SeekIC

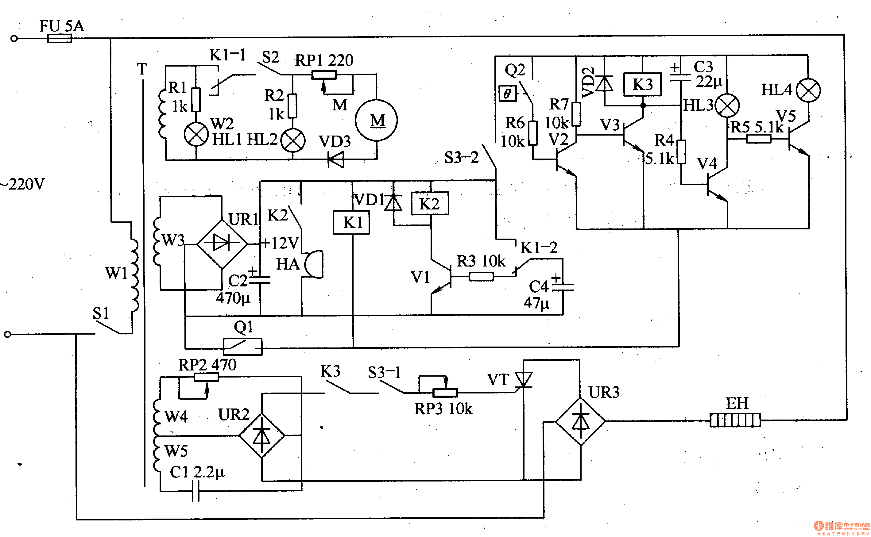
Here is to introduce the heating magnetic mixer which has the functions of stepless speed regulation mixing, constant temperature auto control, stepless temperature regulation and timing alarm, etc, it can be used in the labs chemical and steel area.The working principle of the circuit The heating magnetic mixer consists of the power supply circuit, mixing motor control circuit, heating temperature regulation circuit, mixing circuit motor speed regulation circuit, timing alarm circuit and timing control circuit, see as figure 8-139.
Reprinted Url Of This Article:
http://www.seekic.com/circuit_diagram/Signal_Processing/The_heating_magnetic_mixer_2.html
Print this Page | Comments | Reading(3)
Code: