Published:2011/7/21 19:55:00 Author:qqtang | Keyword: aspirator, waterproof controller | From:SeekIC

The working principle of the circuit
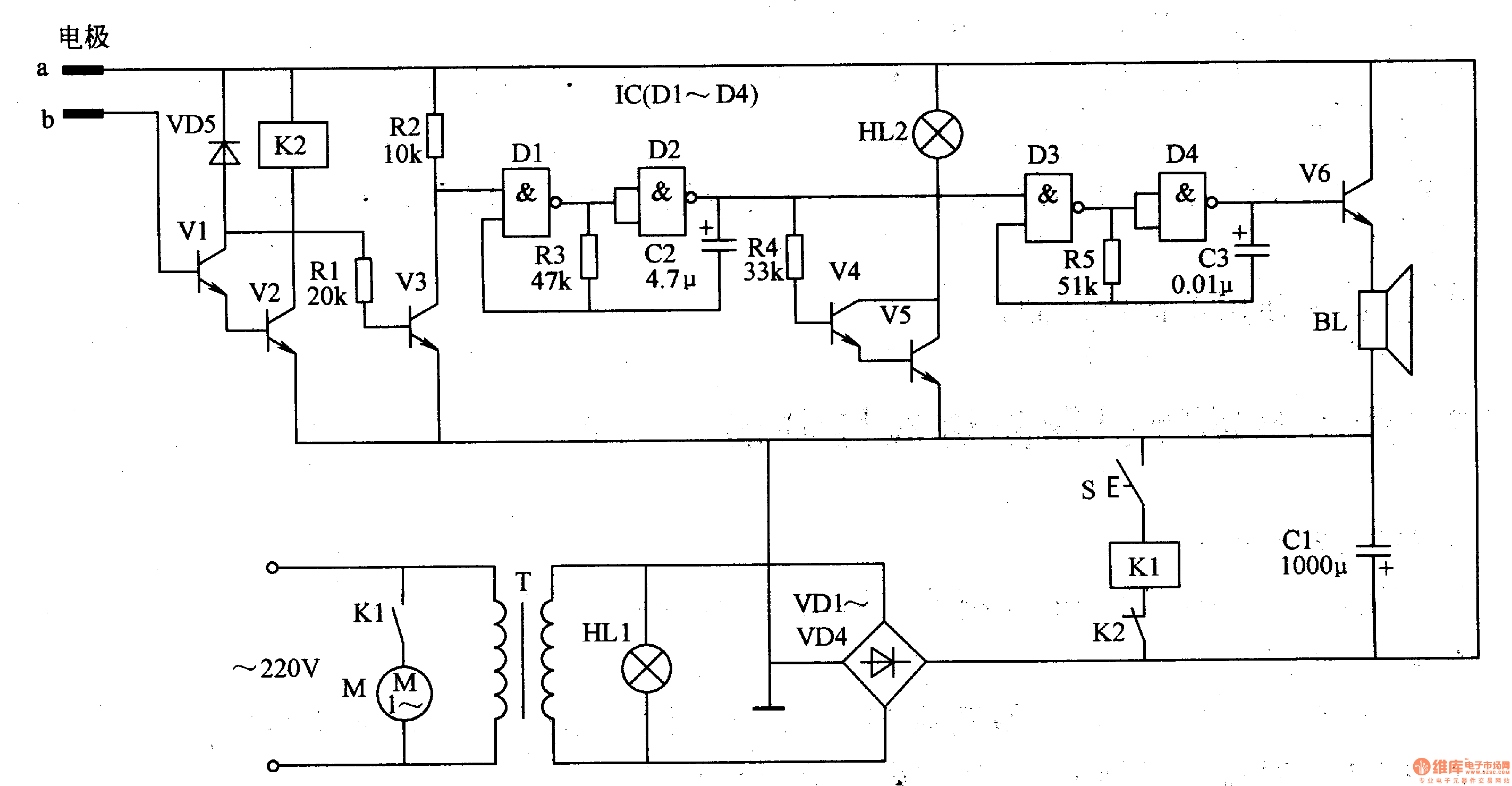
The medical electric aspirator waterproof controller circuit consists of the power supply circuit, liquid level detection control circuit and acousto-optical alarm circuit, see as figure 9-46.
The power supply circuit consists of the transformer T, power supply indicator HL1, rectifier diode VDl-VD4 and filter capacitor C1. The liquid level controller circuit consists of the detection poles a and b(inserted in the bottleneck of the liquid bottle), transistors V1 and V2, diode VD5, relays of K1 and K2 and the step switch S.
Reprinted Url Of This Article:
http://www.seekic.com/circuit_diagram/Signal_Processing/The_medical_electric_aspirator_waterproof_controller_1.html
Print this Page | Comments | Reading(3)
Code: