Published:2011/8/3 22:36:00 Author:qqtang | Keyword: ordinary pressure boiler, controller | From:SeekIC

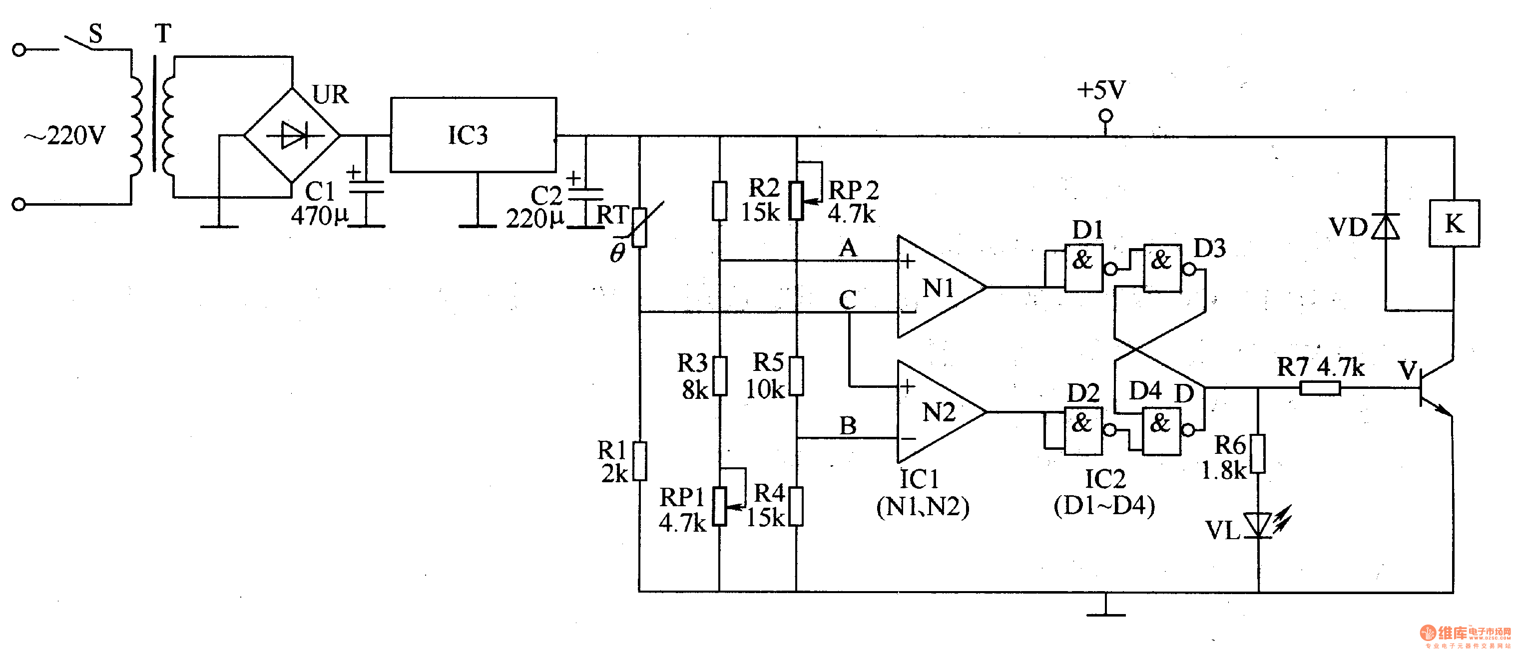
Here is to introduce the ordinary pressure boiler temperature auto controller which can automatically make the water pump work when the water in it reaches 85⁰C and stop working when the water is reduced to 50⁰C. The principle of the circuit The ordinary pressure boiler temperature auto controller consists of the power supply circuit, temperature detection control circuit, trigger, working state indicator circuit and control executing circuit, see as figure 8-154.
The temperature test controller circuit consists of the temperature sensor RT, resistor R1-R5, potentiometer RP1 and RP2, the op-amp integrated circuit IC (N1 and N2).
Reprinted Url Of This Article:
http://www.seekic.com/circuit_diagram/Signal_Processing/The_ordinary_pressure_boiler_temperature_auto_controller.html
Print this Page | Comments | Reading(3)
Code: