Published:2011/5/22 9:35:00 Author:Felicity | Keyword: Thermostat for Medical (the 2nd) | From:SeekIC

Work of the circuit
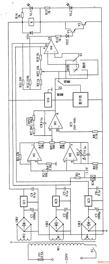
The circuit consists of power circuit, temperature examining circuit and controlling executing circuit (It is showed in picture 9-41.).
When we use it to heat we should put S2 in the site “heating”. If the temperature is higher than the reset temperature the heating circuit does not work. If the temperature is lower than the reset one the heating circuit works.
When we use it to refrigerate we should put it in the site “refrigeration”. If the temperature is higher than the reset temperature the refrigerating circuit works. If the temperature is lower than the reset one the refrigerating circuit does not work.
Reprinted Url Of This Article:
http://www.seekic.com/circuit_diagram/Signal_Processing/Thermostat_for_Medical_the_2nd.html
Print this Page | Comments | Reading(3)
Code: