Published:2011/7/5 2:27:00 Author:Felicity | Keyword: Time Relay (the 3rd) | From:SeekIC

Work of the circuit
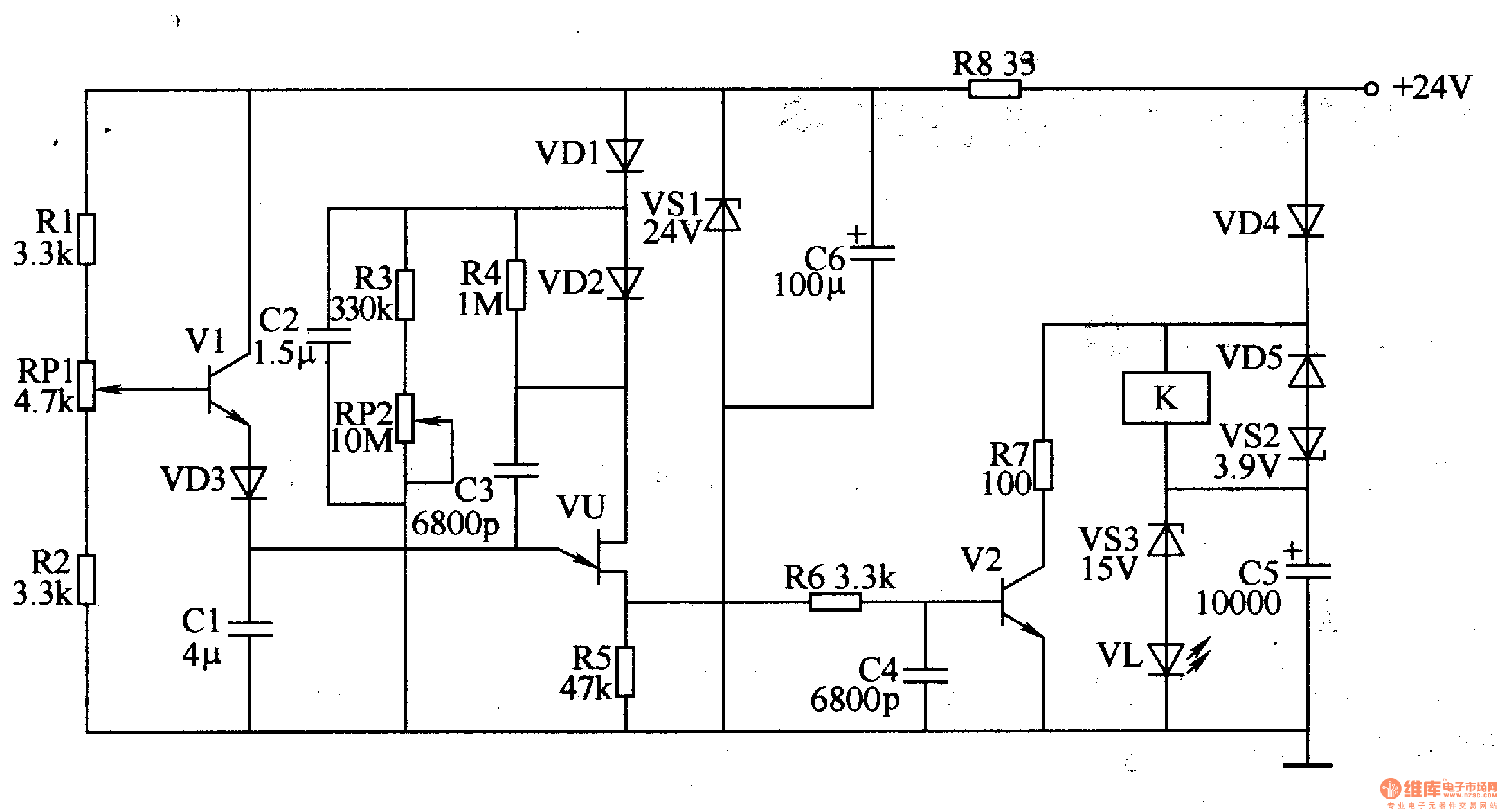
The circuit consists of regulator filter circuit, the delay charge and discharge circuit and relay control circuits. (It is showed in the picture 8-137.)
Regulator filter circuit consists of Resistor R8, zener diode VS1 and filter capacitor C6.
The delay charge and discharge circuit consists of Resistors Rl-R5, capacitor RPl and RP2, transistor Vl, capacitors Cl-C3, diodes VDl-VD3 and single-junction transistor VU.
Relay control circuits consists of resistors R6 and R7, capacitors C4 and C5, diode VD4 and VD5, voltage regulator diode VS2 and VS3, the transistor V2, LED VL and relays K.
Reprinted Url Of This Article:
http://www.seekic.com/circuit_diagram/Signal_Processing/Time_Relay_the_3rd.html
Print this Page | Comments | Reading(3)
Code: