Published:2009/7/24 1:58:00 Author:Jessie | From:SeekIC













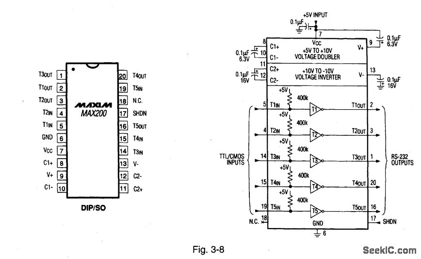
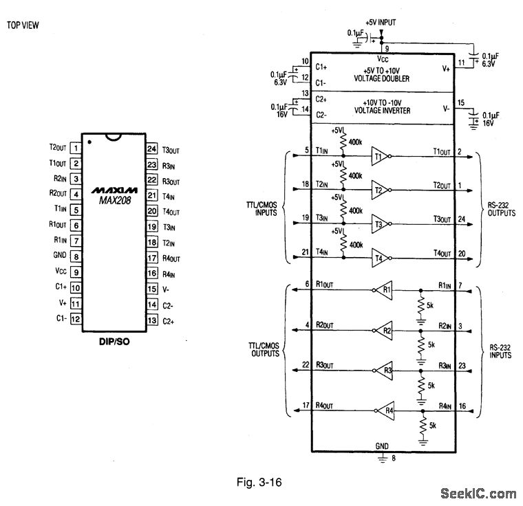
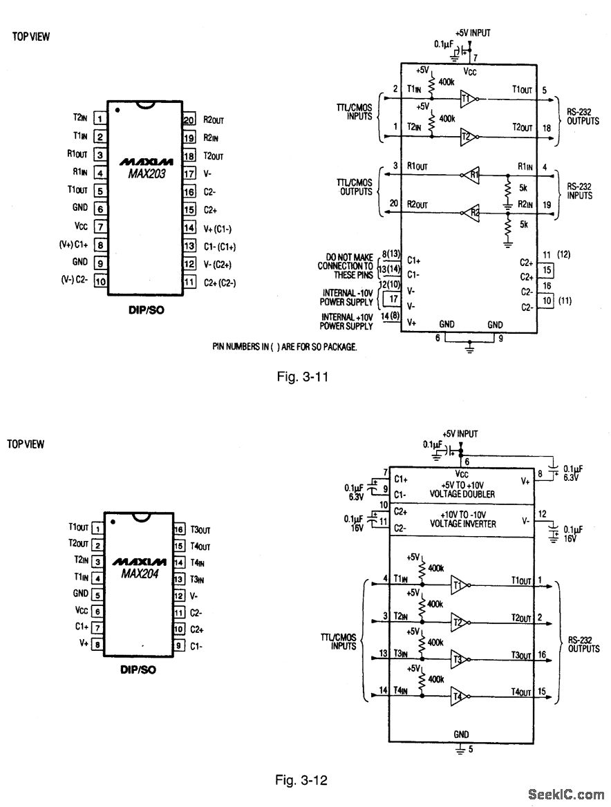
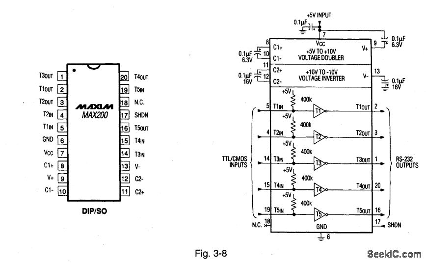
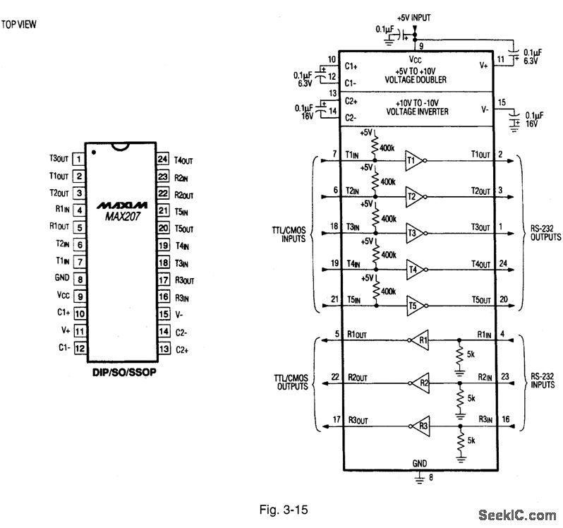
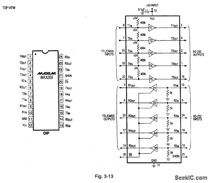
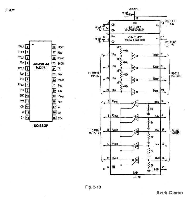
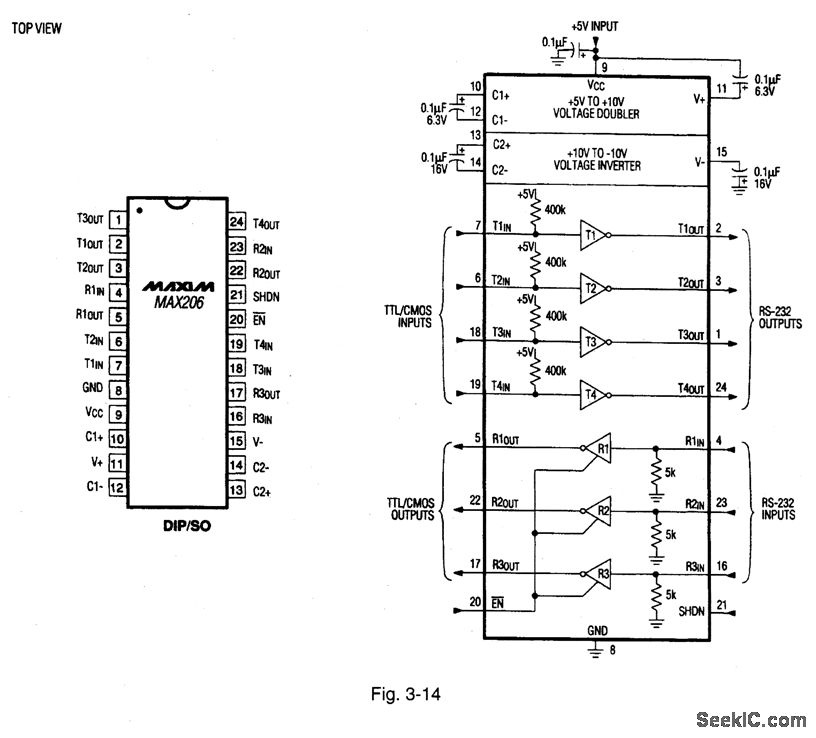
Figures 3-8 through 3-19 show typical application circuits and pin configurations for the MAX200-MAX211/MAX213. Figure 3-20 shows the selection table for these ICs. Figures 3-21, 3-22, and 3-23 show the control-pin configurations for the MAX200, MAX205/06/11, and MAX213, respectively. Figure 3-24 shows a summary of EIA/TIA-232E, V.28 specifications. Figure 3-25 shows DB9 cable connections commonly used for EIA/TIA-232E and V.24 asynchronous interfaces.These ICs are designed for RS-232 and V.28 communication interfaces, where t12 V supplies are not available. On-board charge pumps (Fig. 3-26) convert the +5-V input to the 110 V needed for RS-232 output levels. The MAX201 and MAX209 operate from +5 V and +12 V, and contain a +12-V to -12-V charge-pump voltage converter. The drivers and receivers of these ICs meet all EIA/TIA-232E and CCITV V.28 specifications at data rates of 20 kbits/second. The drivers (except MAX202, MAX203) maintain the ±5-V EIA/TIA-232E output signal levels at data rates in excess of 120 kbits/second, when loaded in accordance with the specification. The MAX200/205/206/211 have a 5-μW shutdown mode to conserve energy. The MAX213 has an active-low shutdown and an active-high receiver-enable control, Two receivers In the MAX213 are active、allowing ring indicator (Ri) to be monitored easily using only 75μW of power. MAXIM NEWRELEASES DATA Book, 1995, P.2-23, 2-28, 2-29, 2-30, 2-31, 2-32, 2-33, 2-34, 2-35, 2-36, 2-37, 2-38, 2-39, 2-40.
Reprinted Url Of This Article:
http://www.seekic.com/circuit_diagram/Signal_Processing/Transceivers_with_external_capacitors_5_V.html
Print this Page | Comments | Reading(3)
Code: