Published:2011/7/7 9:56:00 Author:Felicity | Keyword: Ultrasonic Therapeutic Equipment, the 1st | From:SeekIC

Work of the circuit
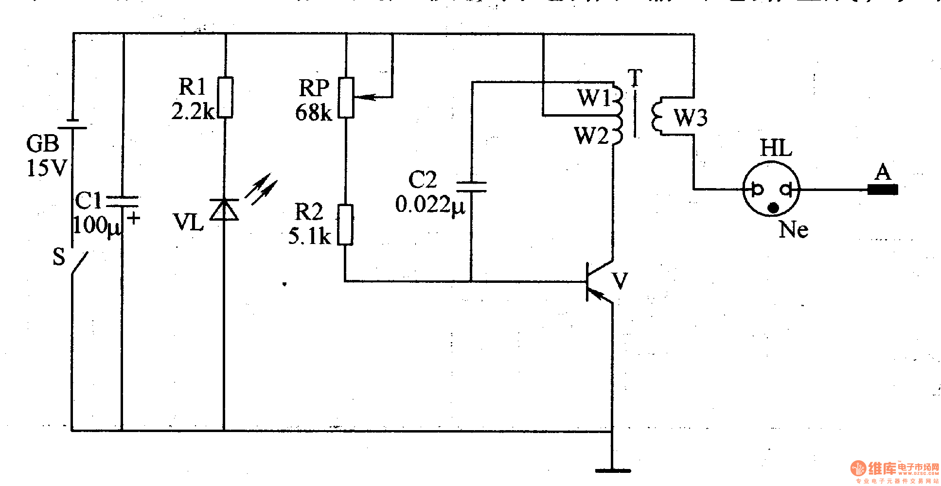
The circuit consists of power circuit, ultrasonic vibration circuit and outputting circuit. (It showed in picture 9-17.)
Turn on the power switch S and the ultrasonic vibration circuit works. Pulse voltage of 5KV is produced on winding W3 of T. when you use the instrument, use pole A to touch the tissue with focus nidus. The tissue produces sight massage and proper heating to reduce inflammation and ease pain.
Change the value of RP to change the vibration frequency of the ultrasonic therapeutic equipment.
Reprinted Url Of This Article:
http://www.seekic.com/circuit_diagram/Signal_Processing/Ultrasonic_Therapeutic_Equipment_the_1st.html
Print this Page | Comments | Reading(3)
Code: