Published:2009/7/10 1:10:00 Author:May | From:SeekIC

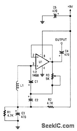
Using an LC-tuned circuit, this oscillator can produce frequencies of less than 10Hz. C1 and C2 can be as large as 100μF.
Reprinted Url Of This Article:
http://www.seekic.com/circuit_diagram/Signal_Processing/VLF_AUDIO_TONE_GENERATOR.html
Print this Page | Comments | Reading(3)
Code: