Published:2009/7/14 22:32:00 Author:Jessie | From:SeekIC

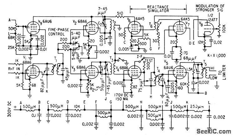
High-Q trap in reactance-tube circuit attenuates stronger of two signals, to permit capture of weaker of two cochannel f-m signals, as often required in police, military, and telemetering systems, Trap introduces depression in frequency re sponse of third i-f stage, centered on frequency of stronger signal.-E. J, Baghdady and G. J. Rubissow, Dynamic Trap Captures Weak F-M Signals, Electronics, 32:2, p 64-66.
Reprinted Url Of This Article:
http://www.seekic.com/circuit_diagram/Signal_Processing/WEAK_SIGNAL_CAPTURE.html
Print this Page | Comments | Reading(3)
Code: