Published:2009/7/16 4:18:00 Author:Jessie | From:SeekIC


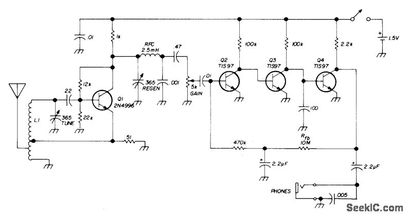
Tunes from 4.7 to 15.5 MHz, covering three WWV frequencies, 20- and 40-meter amateur bands, and several foreign broadcast bands. Draws only 1.5mA from single D cell when using headphones with 2000-ohm or higher impedance. Performs well with AM, CW, or SSB. When oscillating, detector provides own BFO signal, L1 is 3.8 μH, with emitter tap 1,turn from ground. Use clip for adjusting antenna tap. Tuning requires two hands. - C.Hall, Simple Regenerative WWV Receiver, Ham Radio, April 1973, p 42-45.
Reprinted Url Of This Article:
http://www.seekic.com/circuit_diagram/Signal_Processing/WWV_REGENERATIVE.html
Print this Page | Comments | Reading(3)
Code: