Published:2011/5/18 8:46:00 Author:Felicity | Keyword: Ward Caller, | From:SeekIC

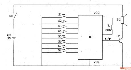
Turn the power switch on, and the circuit is electrified. While S1-S8 is not pressed, O/P port of IC has no output, and BL is noiseless. Once one of the S1-S8 buttons is pressed, IC will be triggered on. And O/P port outputs an electrical signal of the sound effect( Press S1-S8 in order, and O/P port of IC outputs “ Bed number one calling, Bed number two calling...Bed number 8 calling ), and then the electrical signal is amplified by V to drive BL sends out a simulative voice. And the medical personnel can know the number of calling bed according to the vocal calling number.
Reprinted Url Of This Article:
http://www.seekic.com/circuit_diagram/Signal_Processing/Ward_Caller_Four.html
Print this Page | Comments | Reading(3)
Code: