Published:2011/5/14 6:05:00 Author:Felicity | Keyword: Ward Caller, | From:SeekIC

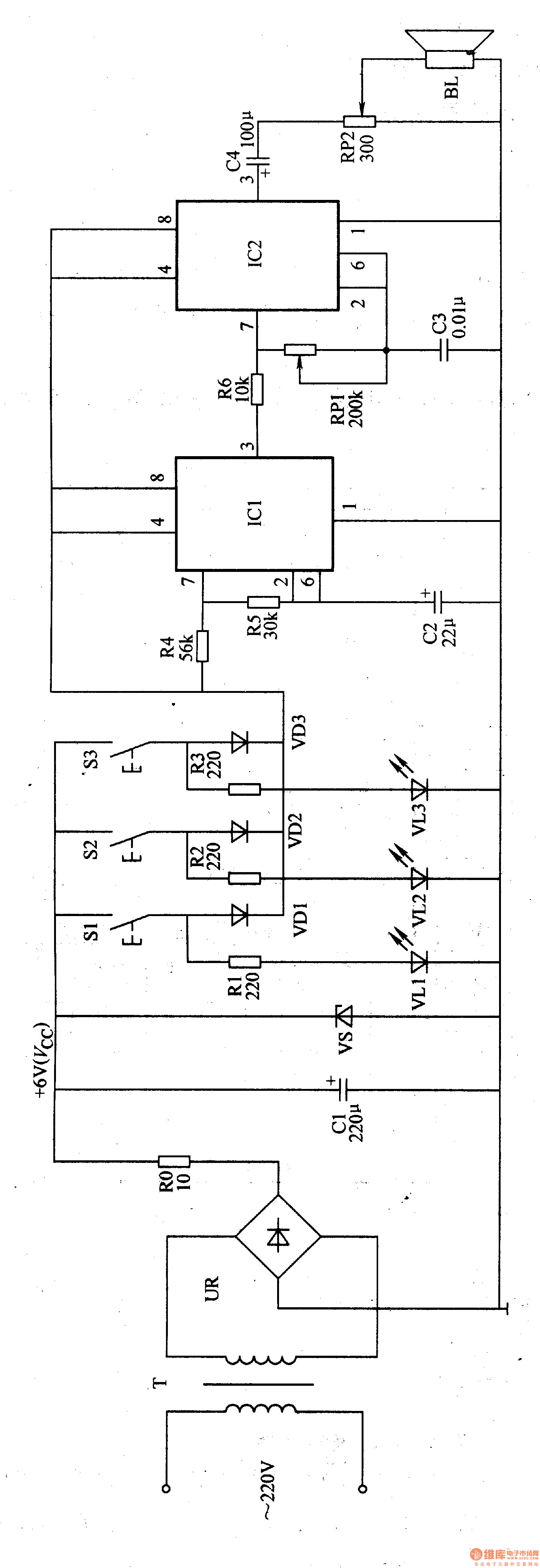
When the call buttons S1-S3 are not pressed, LED vl1-vl3 are all off. Oscillator A and B are both in the stop state lacking of work voltage, and the speaker BL is quiet.
When one of the call buttons is pressed, +6 voltage is provided to oscillator A and B through the button and the diode connected to it. And the BL issues a Du, du calling sound. At the same time while the button is pressed, the LED of the same branch is on.
Adjusting the resistance of RP1 can change the pitch of the calling sound.
 Adjusting the resistance of RP2 can change the volume of BL.
Reprinted Url Of This Article:
http://www.seekic.com/circuit_diagram/Signal_Processing/Ward_Caller_One.html
Print this Page | Comments | Reading(3)
Code: