Published:2011/6/18 21:19:00 Author:Lena | Keyword: oscillating circuit, trigger circuit | From:SeekIC

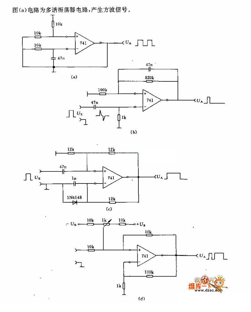
Diagram (a) circuit is a multivibrator type oscillating circuit which can generate Square-Wave signal.
Reprinted Url Of This Article:
http://www.seekic.com/circuit_diagram/Signal_Processing/oscillating_circuit_and__trigger_circuit_diagram.html
Print this Page | Comments | Reading(3)
Code: