Position: Home > Circuit Diagram > Basic Circuit > Medical ultrasonic atomizer 1

Basic Circuit

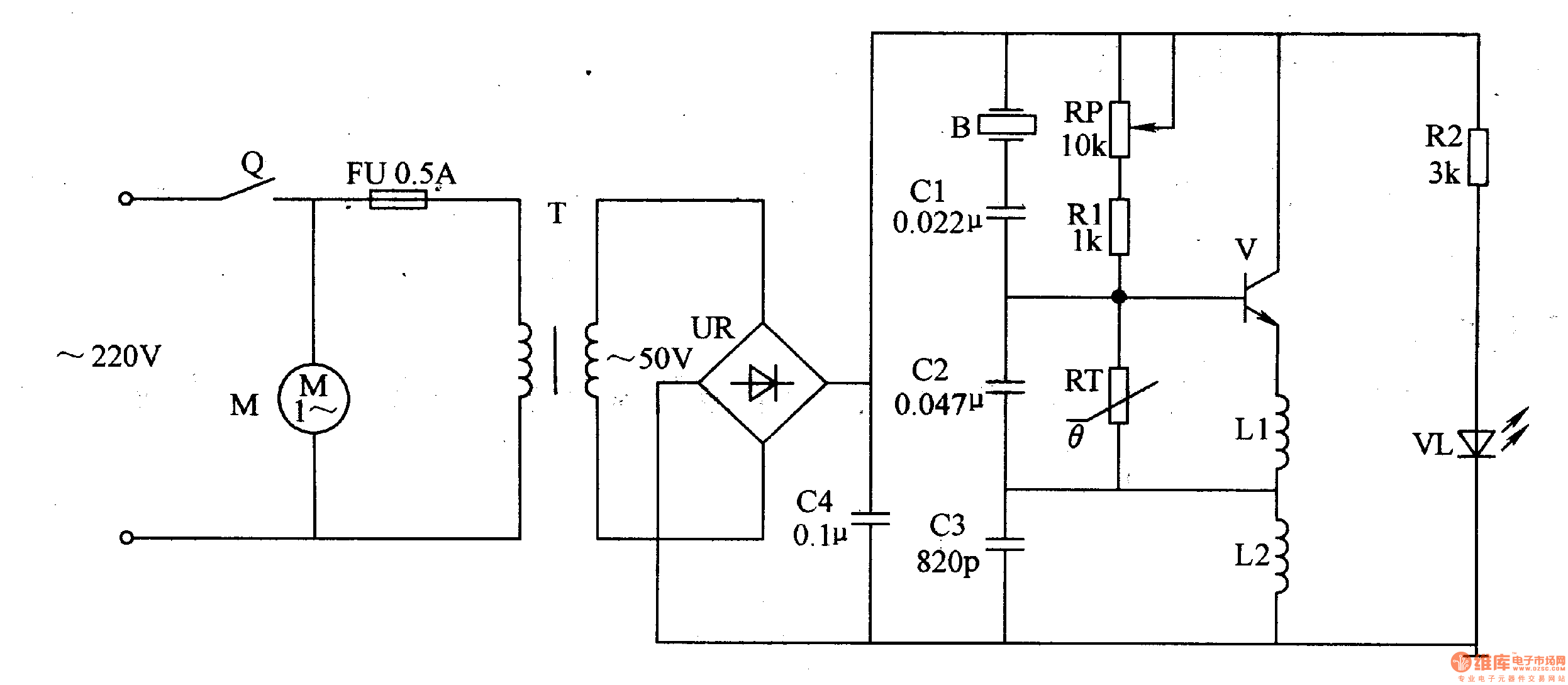
Medical ultrasonic atomizer 1

Published:2011/6/29 22:27:00 Author:Nicole | Keyword: ultrasonic atomizer | From:SeekIC

Print this Page | Comments | Reading(3)

To evaluate my
Code: