Published:2009/6/19 3:42:00 Author:May | From:SeekIC

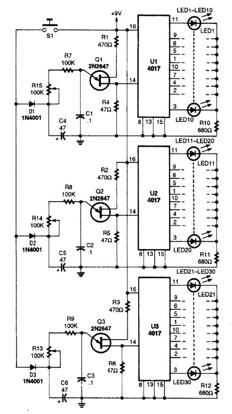
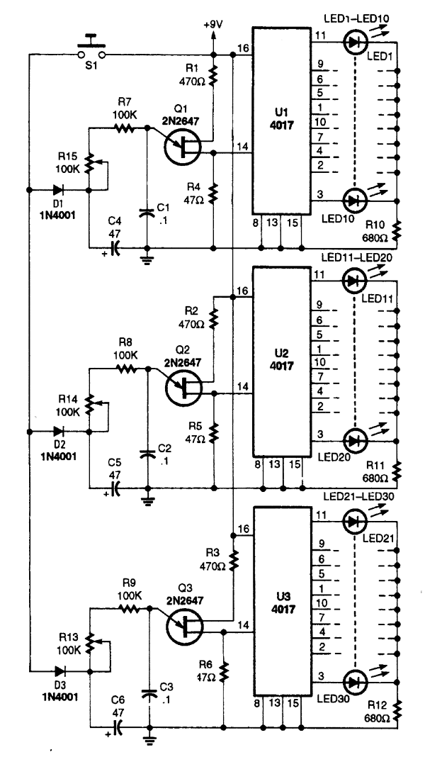
The one-arm bandit circuit is made up of three clock circuits and three counter/readout circuits.A single roll switch, 51, turns on all three clocks at the same time. When S1 is closed, capacitors C4, C5, and C6 are charged through D31, D32, and D33 to about 8 V. After S1 is released, the three clocks run, taking energy from the three charged capacitors. As the capacitors discharge, the three clocks begin to slow down, producing the effect of the drums in a mechanical bandit slowing to a stop.The 4017's 10-output LEDs can be numbered or designated as apples, cherries, bells, wild cards, or anything you like to make the game more interesting. Additional logic circuitry can be added to the 4017 outputs to sound an alert or turn on a light when any three numbers or output items match.Three potentiometers, R12, R13, and R14, can be varied for each roll to change the clock's fre-quency and the roll rate.
Reprinted Url Of This Article:
http://www.seekic.com/circuit_diagram/basic_circuit/other_circuit/electronic_one_arm_bandit.html
Print this Page | Comments | Reading(3)
Code: