Published:2011/5/21 1:44:00 Author:Lucas | Keyword: Motor protector | From:SeekIC

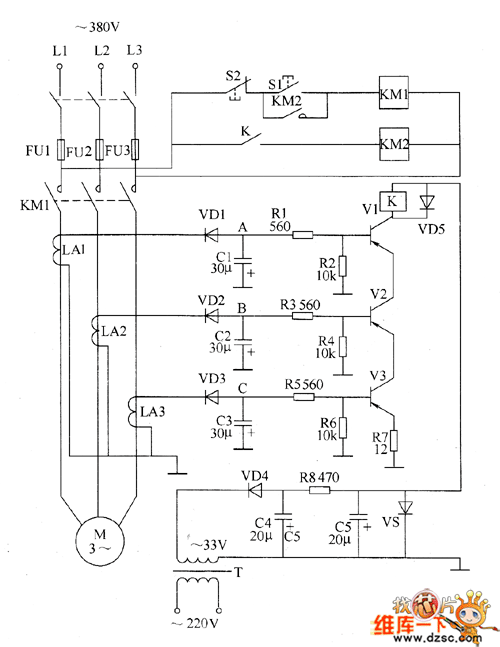
The motor protection circuit is composed of power supply circuit, current detection circuit and protection control circuit, the circuit is shown as the chart. Power circuit is composed of the power transformer T, rectifier diode VD4, filter capacitors C4, C5, current limiting resistor R8 and Zener diode VS and other components, the circuit is used to generate +20 V voltage for relay K and its drive circuit. Current detection circuit is composed of the current transformers LA1, LA2, LA3, and rectifier diodes VD1 ~ VD3, filter capacitors C1 ~ C3 and other components. The protection control circuit is composed of resistors R1 ~ R7, transistors V1 ~ V3, relay Κ, AC contactors KMI and KM2 and start button S1, stop button S2. After people press the start button S1, AC power contactor KM1 works, the three contacts are connected, the motor M operates.
Reprinted Url Of This Article:
http://www.seekic.com/circuit_diagram/control_circuit/protection_circuit/motor_protector_circuit_diagram_8.html
Print this Page | Comments | Reading(3)
Code: