Published:2011/5/16 23:02:00 Author:Michel | Keyword: Lithium Dry battery Charger, Five | From:SeekIC

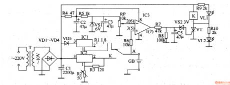
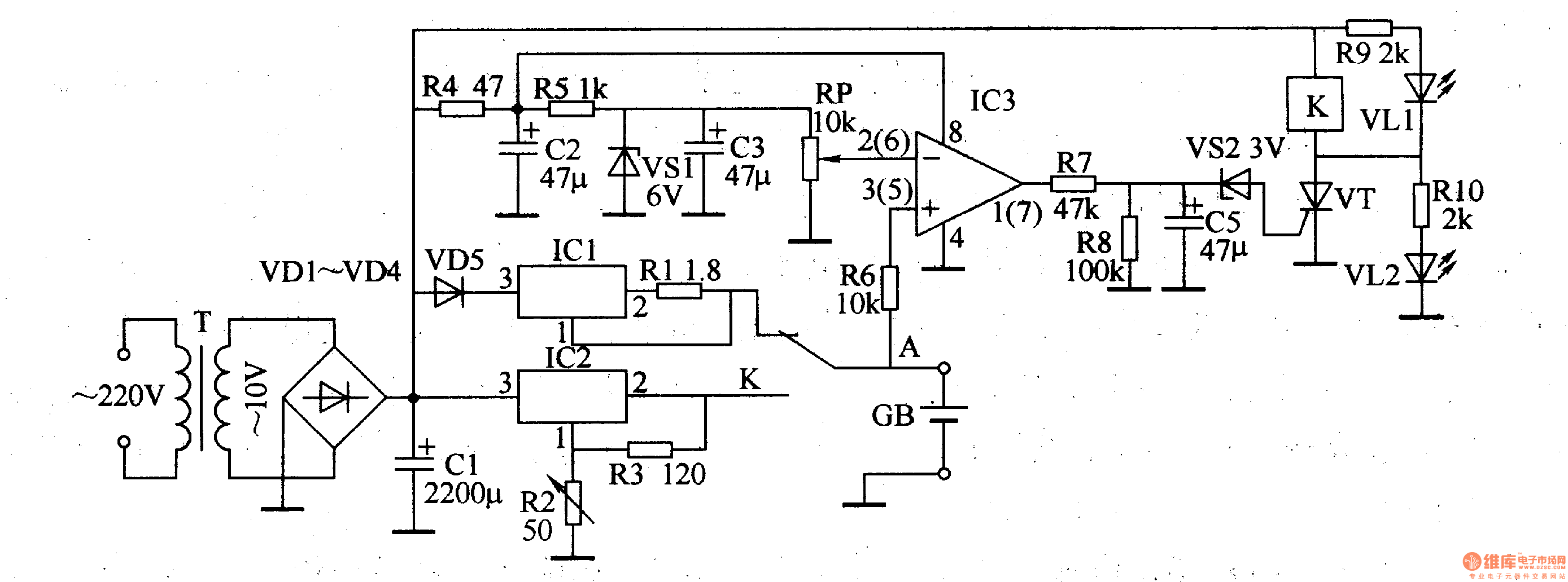
The lithium battery charger introuduced in the example can charge 6V-plated ion battery in constant-current way and change into constant-voltage chagre mode when the battery reaches 4·1V.
Work Principle of the Circuit
This lithium battery charger circuit is composed of power supply constant voltage circuit,oscillator,voltage detection control circuit,constant-current charge circuit and constant-voltage charge circuit and it's showed as the picture 5-77.
The power supply constant-voltage circuit is composed of power supply transformer,T,commutation diode,VDl-VD4,filter capacitor,CI and C2 and three-terminal voltage control IC1.
Reprinted Url Of This Article:
http://www.seekic.com/circuit_diagram/power_supply_circuit/lithium_dry_battery_charger__five.html
Print this Page | Comments | Reading(3)
Code: