About SeekIC | Services | Payment | Advertisements service | Contact Us | Links
© 2008-2012 SeekIC.com Corp.All Rights Reserved.
Published:2009/7/7 7:09:00 Author:May | From:SeekIC

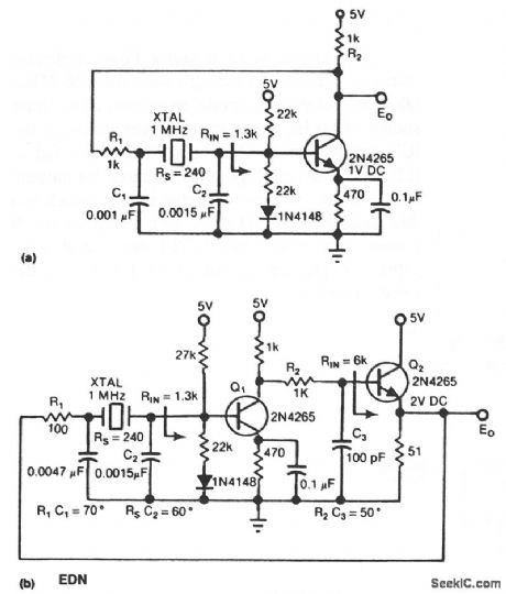
Simple network design is a key feature of the Pierce circuit, as these 1-MHz oscillators illustrate .Operating the crystal slightly above resonance (Fig.21-5a) requires only one high-gain transistor stage.Operating it exactly at series resonance (Fig. 21-5b) requires an extra RC phase lag and two transistors which can have lower gain.
Reprinted Url Of This Article:
http://www.seekic.com/circuit_diagram/signal_processing/oscillator_circuit/1_mhz_pierce_oscillators.html
Print this Page | Comments | Reading(3)
Response in 12 hours
© 2008-2012 SeekIC.com Corp.All Rights Reserved.
Code: