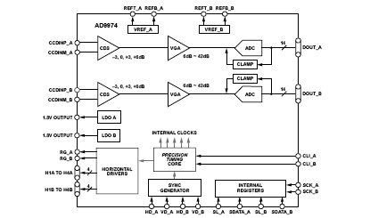
PinoutSpecifications Resolution (Bits) 14bit Input Range (V p-p) 1V p-p Sample Rate (MSPS) 65MSPS P...
AD9974: PinoutSpecifications Resolution (Bits) 14bit Input Range (V p-p) 1V p-p ...
SeekIC Buyer Protection PLUS - newly updated for 2013!
268 Transactions
All payment methods are secure and covered by SeekIC Buyer Protection PLUS.

| Resolution (Bits) | 14bit |
| Input Range (V p-p) | 1V p-p |
| Sample Rate (MSPS) | 65MSPS |
| Power Dissipation (mW) | 300mW |