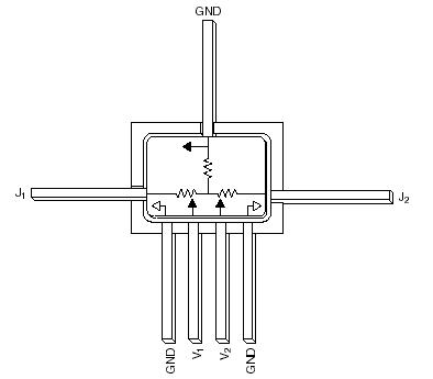
Features: Dual Control VoltagesLow Insertion Loss7 Lead Hermetic PackageCapable of Meeting MIL-STD Requirements5PinoutSpecifications Characteristic Value RF Input Power (RF In) 10 mW > 500 MHz4 mW @ 50 MHz Control Voltage (VC) +0.2 V, -10 V Operating Temperature (TOP) ...
AT006N3-10: Features: Dual Control VoltagesLow Insertion Loss7 Lead Hermetic PackageCapable of Meeting MIL-STD Requirements5PinoutSpecifications Characteristic Value RF Input Power (RF In) 10 mW...
SeekIC Buyer Protection PLUS - newly updated for 2013!
268 Transactions
All payment methods are secure and covered by SeekIC Buyer Protection PLUS.
Features: Attenuation in 3 dB Steps to 45 dBLow DC Power ConsumptionLow Cost SOIC-16 Plastic Packa...
Features: 50 dB RangeLow Insertion LossFast SwitchingMeets MIL-STD-883 Screening RequirementsSpeci...
Features: Dual Control VoltagesLow Insertion Loss8 Lead Hermetic Surface Mount PackageCapable of M...

|
Characteristic |
Value |
| RF Input Power (RF In) |
10 mW > 500 MHz 4 mW @ 50 MHz |
| Control Voltage (VC) |
+0.2 V, -10 V |
| Operating Temperature (TOP) |
-55°C to +125°C |
| Storage Temperature (TST) |
-65°C to +150°C |
| Thermal Resistance (JC) |
25°C/W |