PinoutSpecificationsTemperature Min-40 deg CTemperature Max85 deg CSupply Voltage3.3 Volt View Using CatalogDescriptionThe DP83640 Precision PHYTER® device delivers the highest level of precision clock synchronization for real time industrial connectivity based on the IEEE 1588 standard. The D...
DP83640: PinoutSpecificationsTemperature Min-40 deg CTemperature Max85 deg CSupply Voltage3.3 Volt View Using CatalogDescriptionThe DP83640 Precision PHYTER® device delivers the highest level of precisio...
SeekIC Buyer Protection PLUS - newly updated for 2013!
268 Transactions
All payment methods are secure and covered by SeekIC Buyer Protection PLUS.
Features: ·16 10/100/1000 Mb/s Ethernet ports with non-blocking wire-speed performance·32 Gbit/s i...

| Temperature Min | -40 deg C |
| Temperature Max | 85 deg C |
| Supply Voltage | 3.3 Volt |
| View Using Catalog | |
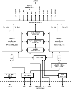
The DP83640 Precision PHYTER® device delivers the highest level of precision clock synchronization for real time industrial connectivity based on the IEEE 1588 standard. The DP83640 has deterministic, low latency and allows choice of microcontroller with no hardware customization required. The integrated 1588 functionality allows system designers the flexibility and precision of a close to the wire timestamp. The three key 1588 features supported by DP83640 are:
- Packet time stamps for clock synchronization
- Integrated IEEE 1588 synchronized clock generation
- Synchronized event triggering and time stamping through GPIO
DP83640 offers innovative diagnostic features unique to National Semiconductor, including dynamic monitoring of link quality during standard operation for fault prediction. These advanced features allow the system designer to implement a fault prediction mechanism to detect and warn of deteriorating and changing link conditions. This single port fast Ethernet transceiver can support both copper and fiber media.
Design Tools
| Title | Size in Kbytes | Date | |||
| Ethernet Integrity Utility Tool for Support and Diagnostics | 5 Kbytes | 21-Mar-2008 | View | ||
| DP83640 EMI Certification Report | 2116 Kbytes | 23-Jun-2008 | View Online | Download | |
| DP83640 Reference Designs | View | ||||
| Software Design Guide and C Software Reference Library | View | ||||
| DP83640 Schematic Rev 2.0 | 2199 Kbytes | 5-May-2008 | View Online | Download | |
| The Freescale MCF5234BCCKIT ColdFire microprocessor kit includes the new DP83640 PHYTER High Precision | View | ||||
| Zurich University PTPv2 stack for the Freescale MCF5235BCCKIT | View |
If you have trouble printing or viewing PDF file(s), see Printing Problems. |
Application Notes
| Title | Size in Kbytes | Date | |
| AN-1730: Application Note 1730 DP83640 Synchronous Ethernet Mode: Achieving Sub-nanosecond Accuracy in PTP Applications | 778 Kbytes | 30-Sep-07 | Download |
| AN-1730 (Chinese): Application Note 1730 DP83640 Synchronous Ethernet Mode: Achieving Sub-nanosecond Accuracy in PTP Applications |
425 Kbytes | ||
| AN-1838: Application Note 1838 IEEE 1588 Boundary Clock and Transparent Clock Implementation Using the DP83640 | 113 Kbytes | 28-Apr-08 | Download |
| AN-1838 (Chinese): Application Note 1838 IEEE 1588 Boundary Clock and Transparent Clock Implementation Using the DP83640 |
289 Kbytes | ||
| AN-1963: Application Note 1963 IEEE 1588 Synchronization Over Standard Networks Using the DP83640 | 353 Kbytes | 14-May-09 | Download |
| AN-1794: Application Note 1794 Using RMII Master Mode | 233 Kbytes | 11-Mar-08 | Download |
| AN-1729: Application Note 1729 DP83640 IEEE 1588 PTP Synchronized Clock Output | 228 Kbytes | 2-Dec-08 | Download |
| AN-1729 (Chinese): Application Note 1729 DP83640 IEEE 1588 PTP Synchronized Clock Output |
341 Kbytes | ||
| AN-1862: Application Note 1862 Reducing Radiated Emissions in Ethernet 10/100 LAN Applications | 117 Kbytes | 4-Jun-08 | Download |
| AN-1881: Application Note 1881 Improving Electro-Magnetic Noise Immunity in Serial Communications Systems | 110 Kbytes | 28-Jul-08 | Download |
| AN-1728: Application Note 1728 IEEE 1588 Precision Time Protocol Time Synchronization Performance | 445 Kbytes | 4-Oct-07 | Download |
| AN-1728 (Chinese): Application Note 1728 IEEE 1588 Precision Time Protocol Time Synchronization Performance |
384 Kbytes | ||
| AN-1469: Application Note 1469 PHYTER? Design & Layout Guide | 341 Kbytes | 29-Apr-08 | Download |
| AN-1469 (Chinese): Application Note 1469 PHYTER? Design & Layout Guide |
484 Kbytes | ||
| AN-1548: Application Note 1548 PHYTER 100 Base-TX Reference Clock Jitter Tolerance | 161 Kbytes | 2-Oct-07 | Download |
| AN-1548 (Chinese): Application Note 1548 PHYTER 100 Base-TX Reference Clock Jitter Tolerance |
680 Kbytes | ||
| AN-1540: Application Note 1540 Power Measurement of Ethernet Physical Layer Products | 170 Kbytes | 2-Oct-07 | Download |
If you have trouble printing or viewing PDF file(s), see Printing Problems. |