PinoutSpecificationsPower on ResetYesWatchdogNoPower Fail InputNoManual ResetYesReset Timeout Period1600, 200, 1.4 msOn/Off PinYesError FlagYesInput Min Voltage1 VoltInput Max Voltage5.5 VoltRegTypeSupervisorTemperature Min-40 deg CTemperature Max85 deg CVoltage Supervised2.35 Volt View Using Cata...
LM3702: PinoutSpecificationsPower on ResetYesWatchdogNoPower Fail InputNoManual ResetYesReset Timeout Period1600, 200, 1.4 msOn/Off PinYesError FlagYesInput Min Voltage1 VoltInput Max Voltage5.5 VoltRegType...
SeekIC Buyer Protection PLUS - newly updated for 2013!
268 Transactions
All payment methods are secure and covered by SeekIC Buyer Protection PLUS.

| Power on Reset | Yes |
| Watchdog | No |
| Power Fail Input | No |
| Manual Reset | Yes |
| Reset Timeout Period | 1600, 200, 1.4 ms |
| On/Off Pin | Yes |
| Error Flag | Yes |
| Input Min Voltage | 1 Volt |
| Input Max Voltage | 5.5 Volt |
| RegType | Supervisor |
| Temperature Min | -40 deg C |
| Temperature Max | 85 deg C |
| Voltage Supervised | 2.35 Volt |
| View Using Catalog | |
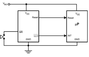
The LM3702/LM3703 series of microprocessor supervisory circuits provide the maximum flexibility for monitoring power supplies and battery controlled functions in systems without backup batteries. The LM3702/LM3703 series are available in a 9-bump micro SMD package.
Built-in features include the following:
Reset: Reset is asserted during power-up, power-down, and brownout conditions. RESET# is guaranteed down to VCC of 1.0V.
Manual Reset Input: An input that asserts reset when pulled low.
Low Line Output: This early power failure warning indicator goes low when the supply voltage drops to a value which is 2% higher than the reset threshold voltage.
Reliability Metrics
| Part Number | Process | EFR Reject | EFR Sample Size | PPM | LTA Rejects | LTA Device Hours | FITS | MTTF (Hours) |
| LM3702XCTP-308 | CS065 | 2 | 34108 | 59 | 0 | 3862000 | 1 | 1095853045 |
| LM3702XCTPX-308 | CS065 | 2 | 34108 | 59 | 0 | 3862000 | 1 | 1095853045 |
| LM3702YATP-290 | CS065 | 2 | 34108 | 59 | 0 | 3862000 | 1 | 1095853045 |
| LM3702YATP-308 | CS065 | 2 | 34108 | 59 | 0 | 3862000 | 1 | 1095853045 |
| LM3702YATPX-290 | CS065 | 2 | 34108 | 59 | 0 | 3862000 | 1 | 1095853045 |
| LM3702YATPX-308 | CS065 | 2 | 34108 | 59 | 0 | 3862000 | 1 | 1095853045 |
| LM3702YDTP-220 | CS065 | 2 | 34108 | 59 | 0 | 3862000 | 1 | 1095853045 |
| LM3702YDTPX-220 | CS065 | 2 | 34108 | 59 | 0 | 3862000 | 1 | 1095853045 |