Features: • Wide frequency range: 65 MHz to 90 MHz and 130 MHz to 180 MHz• Output configurations: eight outputs at fREF two outputs at 2x fREF or nine outputs at 1/2 x fREF one output at fREF• Low output-to-output skew: 150 ps (max) within a group• Near-zero propagation de...
TQ1089: Features: • Wide frequency range: 65 MHz to 90 MHz and 130 MHz to 180 MHz• Output configurations: eight outputs at fREF two outputs at 2x fREF or nine outputs at 1/2 x fREF one output a...
SeekIC Buyer Protection PLUS - newly updated for 2013!
268 Transactions
All payment methods are secure and covered by SeekIC Buyer Protection PLUS.

| Storage temperature |
65 °C to +150 °C |
| Ambient temperature with power applied2 |
55 °C to +100 °C |
| Supply voltage to ground potential |
0.5 V to +7.0 V |
| DC input voltage |
0.5 V to +(VDD + 0.5)V |
| DC input current |
30 mA to +5 mA |
| Package thermal resistance (MQuad) |
JA = 45 °C/W |
| Die junction temperature |
TJ = 150 ° C |
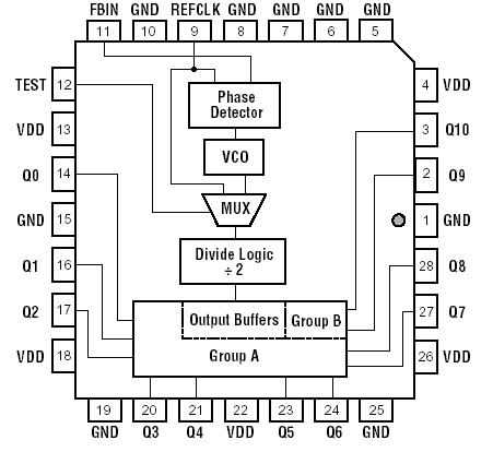
TriQuint's TQ1089 is a configurable clock buffer which generates 11 outputs, operating over a wide range of frequencies from 65 MHz to 90 MHz and from 130 MHz to 180 MHz. The outputs of TQ1089 are available at either 1x and 2x or at 1x and 1/2 x the reference clock frequency, fREF . When one of the Group A outputs (Q0 Q8) is used as feedback to the PLL, all Group A outputs will be at fREF , and all Group B outputs (Q9, Q10) will be at 2x fREF . When one of the Group B outputs is used as feedback to the PLL, all Group A outputs will be at 1/2 x fREF and all Group B outputs will be at fREF.
A very stable internal Phase-Locked Loop (PLL) of TQ1089 provides low-jitter operation. This completely self-contained PLL requires no external capacitors or resistors. The PLL's Voltage-Controlled Oscillator (VCO) has frequency range from 260 MHz to 360 MHz. By feeding back one of the output clocks to FBIN, the PLL continuously maintains frequency and phase synchronization between the reference clock (REFCLK) and each of the outputs.
TriQuint's patented output buffer design of TQ1089 delivers a very low output-tooutput skew of 150 ps (max). The TQ1089's symmetrical TTL outputs are capable of sourcing and sinking 30 mA.