Features: • Wide frequency range: 33 MHz to 45 MHz 65 MHz to 90 MHz and 130 MHz to 180 MHz• Output configurations: four outputs at fREF four outputs at 2x fREF two output at 4x fREF or five outputs at 1/2 x fREF three outputs at fREF two outputs at 2x fREF• Selectable Phase Shift...
TQ1090: Features: • Wide frequency range: 33 MHz to 45 MHz 65 MHz to 90 MHz and 130 MHz to 180 MHz• Output configurations: four outputs at fREF four outputs at 2x fREF two output at 4x fREF or f...
SeekIC Buyer Protection PLUS - newly updated for 2013!
268 Transactions
All payment methods are secure and covered by SeekIC Buyer Protection PLUS.

| Storage temperature |
65 °C to +150 °C |
| Ambient temperature with power applied2 |
55 °C to +100 °C |
| Supply voltage to ground potential |
0.5 V to +7.0 V |
| DC input voltage |
0.5 V to +(VDD + 0.5)V |
| DC input current |
30 mA to +5 mA |
| Package thermal resistance (MQuad) |
JA = 45 °C/W |
| Die junction temperature |
TJ = 150 ° C |
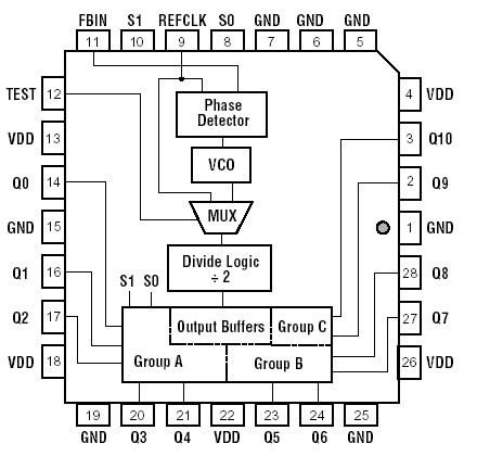
TriQuint's TQ1090 is a configurable clock buffer which generates 11 outputs, operating over a wide range of frequencies from 33 MHz to 45MHz, 65 MHz to 90 MHz and 130 MHz to 180 MHz. The outputs are available at 1x, 2x and 4x, or at 1/2x, 1x and 2x, or at 1/4 x, 1/2 x and 1x the reference clock frequency, fREF.
When one of the Group A outputs (Q0Q4) of TQ1090 is used as feedback to the PLL, all Group A outputs will be at fREF, all Group B outputs (Q5Q8) will be at 2x fREF and all Group C outputs (Q9,Q10) will be at 4x fREF. When one of the Group B outputs is used as feedback to the PLL, all Group A outputs will be at 1/2 x fREF, all Group B outputs will be at fREF and all Group C outputs will be at 2x fREF. When one of the Group C outputs is used as feedback to the PLL, all Group A outputs will be at 1/4 x fREF, all Group B outputs will be at 1/2 x fREF and all Group C outputs will be at fREF.
A very stable internal Phase-Locked Loop (PLL) of TQ1090 provides low-jitter operation. This completely self-contained PLL requires no external capacitors or resistors. The PLL's Voltage-Controlled Oscillator (VCO) has a frequency range from 260 MHz to 360 MHz. By feeding back one of the output clocks to FBIN, the PLL TQ1090 continuously maintains frequency and phase synchronization between the reference clock (REFCLK) and each of the outputs.