Switching Converters, Regulators & Controllers High Voltage Power
VB125ASP: Switching Converters, Regulators & Controllers High Voltage Power
SeekIC Buyer Protection PLUS - newly updated for 2013!
268 Transactions
All payment methods are secure and covered by SeekIC Buyer Protection PLUS.
US $2.53 - 3.71 / Piece
Motor / Motion / Ignition Controllers & Drivers VIPOWER
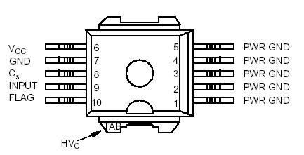
| Mounting Style : | SMD/SMT | Package / Case : | PowerSO-10 |
| Packaging : | Tube |

| Symbol | Parameter and test conditions | Value | Unit | |
| HVc | Collector voltage (Internally limited) | -0.3 to Vcl | V | |
| IC | Collector current (Internally limited) | 11.1 | A | |
| VCC | Driving stage supply voltage | -0.2 to 40 | V | |
| ICC | Driving circuitry supply current | 400 | mA | |
| IS | Logic circuitry supply current | 100 | mA | |
| VIN | Input voltage | -0.3 to 6 | V | |
| VIN | Power dissipation at TC25 °C | 100 | W | |
| VESD | ESD Voltage (HVC pin) | -4 to 4 | KV | |
| VESD | ESD Voltage (other pin) | -2 to 2 | KV | |
| Tj | Junction operating temperature | -40 to 150 | °C | |
| Tstg | Storage temperature Range | -55 to 150 | °C | |
The VB125ASP is a high voltage power integrated circuit made using the STMicroelectronics VIPower™ M1-2 technology, with vertical currentG flow power darlington and logic level compatible driving circuit. The VB125ASP can be directly biased by using the 12V battery voltage, thus avoiding to use a low voltage regulator. It has built-in protection circuit for coil current limiting and collector voltage clamping. It is suitable as smart, high voltage, high current interface in advanced electronic ignition system.