Published:2011/9/6 21:18:00 Author:Vicky | Keyword: noise elimination circuit | From:SeekIC

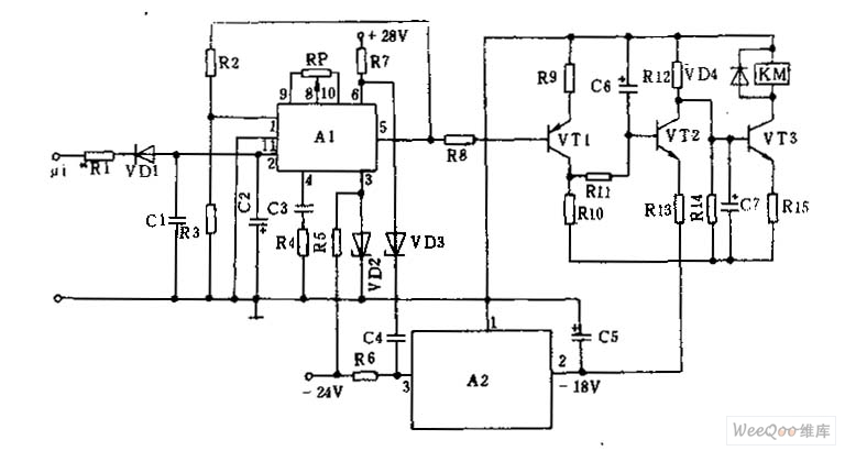
Noise elimination circuit can be designed in the 100kHz~l00MHz superhigh circuit. It is mainly composed by squelch amplifier AL, control circuit VTl~VT3, relay KNf, and regulated voltage supply A2. The working principle is shown in the above picture. When there is no signal received, the output noise voltage of superhigh frequency is lower than 100MV; the DC voltage of detection wave is very small after being filtered by diode VD1 and capacitances C1 and C2. The voltage enters the integrated amplifier A1via pin ② in the output end , and leaves via @. The voltage remains very small after amplified and cannot drive the triode VT1 to work. VT2 stops working and VT3 is under conducted. Relay KM then works.
Reprinted Url Of This Article:
http://www.seekic.com/circuit_diagram/Amplifier_Circuit/Amplifier_Circuits-Miscellaneous/100KHz_–100_MHz_Noise_Elimination_Circuit_Diagram.html
Print this Page | Comments | Reading(3)
Code: