Published:2011/9/7 4:19:00 Author:Vicky | Keyword: deep-current, negative feedback, differential motion amplifier | From:SeekIC

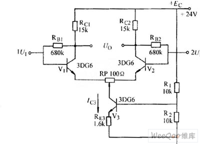
Deep-current negative feedback differential motion amplifier diagram
Reprinted Url Of This Article:
http://www.seekic.com/circuit_diagram/Amplifier_Circuit/Amplifier_Circuits-Miscellaneous/Deep_current_negative_feedback_differential_motion_amplifier_diagram.html
Print this Page | Comments | Reading(3)
Code: