Published:2009/7/13 4:58:00 Author:May | From:SeekIC

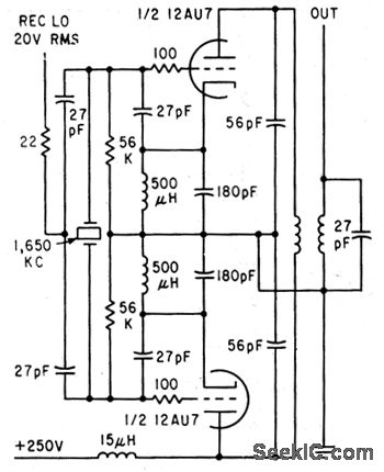
Requires only one crystal per channel in 27-Mc citizens band radiotelephones, by combining beating oscillator with balanced mixer. Receiver local oscillator with balanced mixer.Receiver local oscilator signal and even harmonics of beating oscillator frequency are cancelled in tuned symmetrical plate circuit.-M. E. Baird, Mixer Circuit Lowers Radiotelephone Costs, Electronics,34:47, p71.
Reprinted Url Of This Article:
http://www.seekic.com/circuit_diagram/Audio_Circuit/Mixer/CB_TRANSMITTER_MIXER.html
Print this Page | Comments | Reading(3)
Code: