Published:2009/6/17 22:52:00 Author:May | From:SeekIC



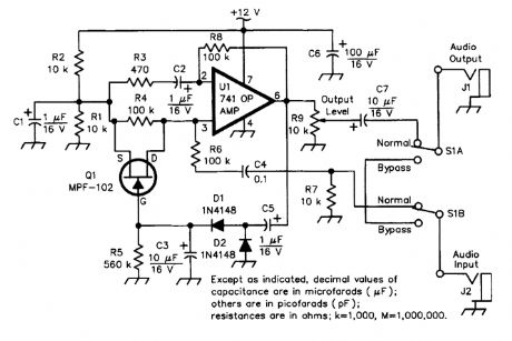
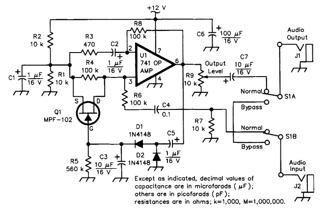
The circuit uses an easily obtained 741 op amp set for an internal gain of about 200. A portion of the op amp's output signal is rectified by the 1N4148 diodes, then filtered and fed to the gate of the FET input shunting circuit. As the output rises, more and more input shunting takes place. That is, more of the input signal is bypassed, effectively keeping the output level constant.The circuit offers a 100:1 limiting action. The input level can change over a 100:1 ratio with little or no effect on the output level. The output level itself can be set from less than unity all the way up to nearly the gain of the amplifier, making the circuit usable in other applications as well.
Reprinted Url Of This Article:
http://www.seekic.com/circuit_diagram/Audio_Circuit/Pre_Amplifier/AGC_AUDIO_PREAMP.html
Print this Page | Comments | Reading(3)
Code: