Published:2009/6/18 2:19:00 Author:May | From:SeekIC

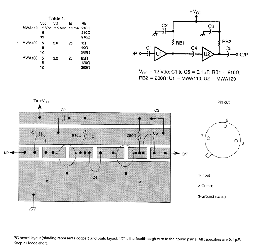
Motorola MWA 110,120,Or 130 are wideband amplifier ICs. This wideband preamp circuit can be used in many applications Keep the leads short when constructing the circuitry.
Reprinted Url Of This Article:
http://www.seekic.com/circuit_diagram/Audio_Circuit/Pre_Amplifier/WIDEBAND_PREAMP.html
Print this Page | Comments | Reading(3)
Code: