Published:2011/8/10 3:48:00 Author:Ecco | Keyword: Brood thermostat | From:SeekIC

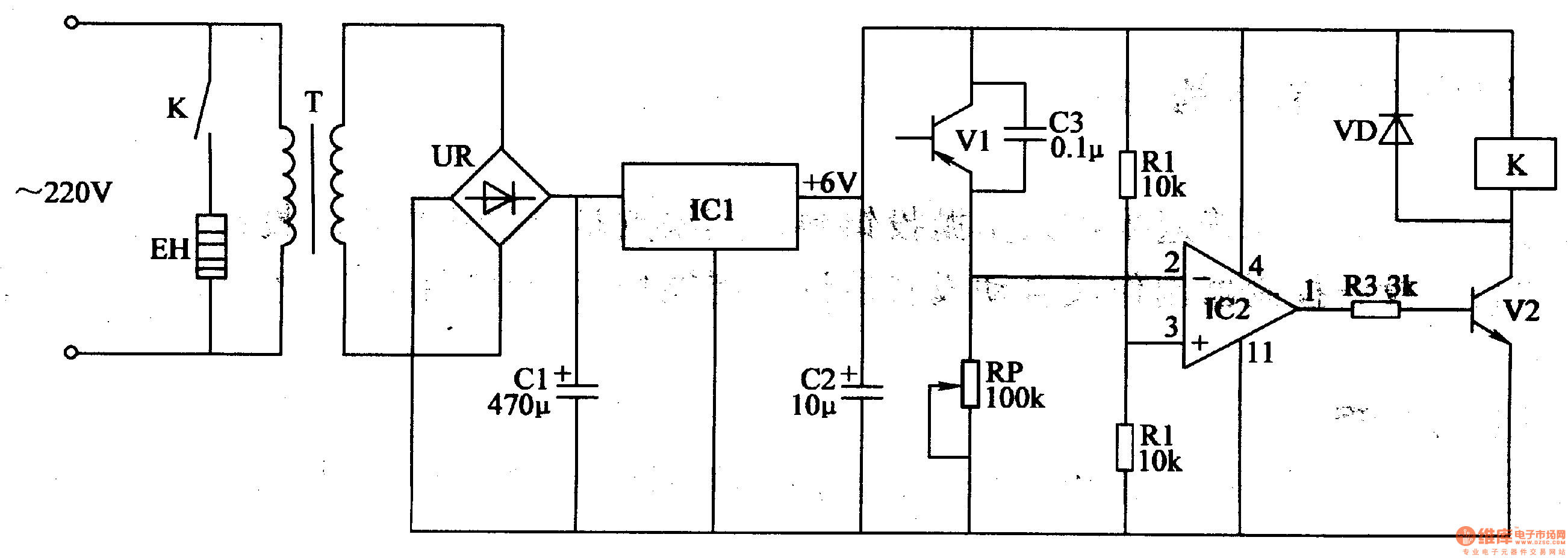
The brood thermostat circuit is composed of the power supply circuit and temperature detection control circuit, and it is shown in Figure 4-41. Power supply circuit is composed of the power transformer T, bridge rectifier UR, filter capacitors Cl, C2, and three-terminal voltage regulator integrated circuit ICl. Temperature detection control circuit consists of transistors Vl, V2, resistors Rl-R3, potentiometer RP, capacitor C3, diode VD, operational amplifier integrated circuit IC2, heater EH and relay K. Rl-R3 use 1/4W metal film resistors or carbon film resistors. C3 uses the monolithic capacitor or polyester capacitor.
Reprinted Url Of This Article:
http://www.seekic.com/circuit_diagram/Control_Circuit/Temperature_Control/Brood_thermostat.html
Print this Page | Comments | Reading(3)
Code: