© 2008-2012 SeekIC.com Corp.All Rights Reserved.
Published:2012/9/12 20:43:00 Author:Ecco | Keyword: 0-60sec, start-stop timer , 555 | From:SeekIC

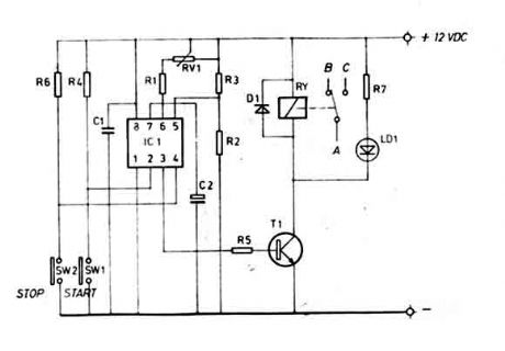
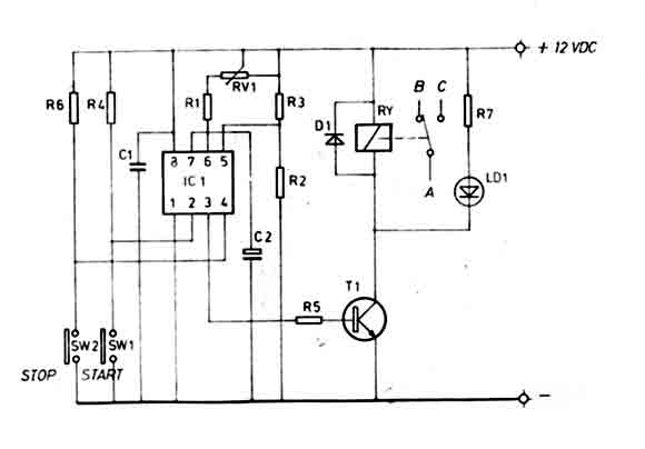
This timer is ideal for small aplications. Due to its simple structure, its usage and nevertheless its universal character, this mini timer is usable in the most current applications needing time intervals, from some seconds through approximately 60 minutes. By simple modifications it is possible to adjust the maximum time and the timing scale, as necessary. A strong output, made by a relay, permits to adapt, on the input and the output, whatever apparatus.
Reprinted Url Of This Article:
http://www.seekic.com/circuit_diagram/Control_Circuit/Time_Control/0_60sec_start_stop_timer_with_555.html
Print this Page | Comments | Reading(3)
Response in 12 hours
© 2008-2012 SeekIC.com Corp.All Rights Reserved.
Code: